
![]() |
![]() |
|
|
|
||
|
Урал Ural |
||
|
|
||
|
|
||
|
|
|
|
Для оформления этой и других станиц по мотоциклам "Урал", использовалась информация с сайтов:
http://www.ural.cc/index.php?index
http://kotjar.ucoz.ru/publ/2-1-0-1
http://moto-ural.ru/models.php
http://uraldnepr.ru/index/0-30
https://www.motonews.ru/top/ural/
http://oppozit.ru/modules.php?name=News&new_topic=43
Мотоцикл М-61
Техническая характеристика мотоцикла УРАЛ М-61
Годы выпуска: 1957—1963
Габаритные размеры, мм длина 2420 ширина 1650 высота 1100 База мотоцикла (расстояние между осями колес), мм 1100 Дорожный просвет при полной нагрузке и нормальном давлении в шинах, мм 125 Колея, мм 1140 Максимальная скорость, км/ч 95 Масса, кг 360 Максимальная нагрузка, кг 255 Средний эксплуатационный расход топлива на 100 км пути при движении в различных дорожных условиях с переменной нагрузкой,л 6 Двигатель Тип Четырехтактный, карбюраторный, двухцилиндровый с оппозитным расположением цилиндров, воздушным охлаждением Рабочий объем, см3 650 Диаметр цилиндра, мм 78 Ход поршня, мм 78 Степень сжатия 6,2 Максимальная мощность, л.с. 28 Максимальная мощность, кВт 20,6 Частота вращения коленчатого вала при максимальной мощности, об/мин. 5000-5200 Максимальный крутящий момент. Нм 47 Карбюратор К-38 Воздухоочиститель Комбинированный инерционный контактно-масляный фильтр с двухступенчатой очисткой Трансмиссия СцеплениеСухое двудисковое, ведомые диски с накладками с обеих сторон Карданная передачаКарданный вал с эластичной муфтой и шарниром на игольчатых подшипниках Главная передачаПара конических колес со спиральными зубьями, передаточное число - 4,62 Коробка передач Четырехступенчатая, с передаточными числами на 1,2,3,4 передачах 3,6;2,28;1,7;1,3 соответственно Электрооборудование Система зажигания Батарейная Напряжение, В 6 Аккумуляторная батарея 3МТ-12 Генератор Г-11А Реле-регулятор РР-330РР-30 или РР-31 Прерыватель-распределитель ПМ05 Катушка зажигания Б11 Ходовая часть Рама Трубчатая двойная закрытого типа Подвеска переднего колеса Телескопическая вилка с гидравлическими амортизаторами двустороннего действия Подвеска заднего колеса Пружинная Ход переднего колеса, мм 80 Ход заднего колеса, мм 60 Размер шин, дюйм 3,75-19 Тормоза Колодочные, с фрикционными накладками на переднем и заднем колесе Заправочные объемы Топливный бак, л 22 Картер двигателя, л 2 Картер коробки передач, л 0,8 Картер главной передачи, л 0.15 Воздухоочиститель, л 0.2
Мотоцикл М-62
![]()
Техническая характеристика мотоцикла Урал М-62
Габаритные размеры, мм длина 2420 ширина 1650 высота 1100 База мотоцикла (расстояние между осями колес), мм 1100 Дорожный просвет при полной нагрузке и нормальном давлении в шинах, мм 125 Колея, мм 1130 Максимальная скорость, км/ч 95 Масса, кг 340 Максимальная нагрузка, кг 255 Средний эксплуатационный расход топлива на 100 км пути при движении в различных дорожных условиях с переменной нагрузкой,л 6 Двигатель Тип Четырехтактный, карбюраторный, двухцилиндровый с оппозитным расположением цилиндров, воздушным охлаждением Рабочий объем, см3 650 Диаметр цилиндра, мм 78 Ход поршня, мм 78 Степень сжатия 6,2 Максимальная мощность, л.с. 28 Максимальная мощность, кВт 20,6 Частота вращения коленчатого вала при максимальной мощности, об/мин. 5000-5200 Максимальный крутящий момент. Нм 47 Карбюратор К-38 Воздухоочиститель Комбинированный инерционный контактно-масляный фильтр с двухступенчатой очисткой Трансмиссия Сцепление Сухое двудисковое, ведомые диски с накладками с обеих сторон Карданная передача Карданный вал с эластичной муфтой и шарниром на игольчатых подшипниках Главная передача Пара конических колес со спиральными зубьями, передаточное число - 4,62 Коробка передач Четырехступенчатая, с передаточными числами на 1,2,3,4 передачах 3,6;2,28;1,7;1,3 соответственно Электрооборудование Система зажигания Батарейная Напряжение, В 6 Аккумуляторная батарея 3МТ-12 Генератор Г-414 Реле-регулятор РР-31 Прерыватель-распределитель ПМ05 Катушка зажигания Б201 Ходовая часть Рама Трубчатая двойная закрытого типа Подвеска переднего колеса Телескопическая вилка с гидравлическими амортизаторами двустороннего действия Подвеска заднего колеса Пружинная Ход переднего колеса, мм 80 Ход заднего колеса, мм 60 Размер шин, дюйм 3,75-19 Тормоза Колодочные, с фрикционными накладками на переднем и заднем колесе Заправочные объемы Топливный бак, л 22 Картер двигателя, л 2 Картер коробки передач, л 0,8 Картер главной передачи, л 0.15 Воздухоочиститель, л 0.2
Мотоциклы УРАЛ М-61, М-62, К-750
Не претендую на лавры автора по теме Советские Тяжелые мотоциклы. Более подробную информацию при желании можно почерпнуть в старых книгах «дореволюционного» издания или на специализированных сайтах в сети интернет. Посему ограничусь краткой, обзорной статьёй о данных мотоциклах.
Первый мотоцикл Урал М-72 первенец семейства Урал начал выпускаться в 1940 году. Всё время выпуска мотоцикл подвергался незначительным модернизациям.
При разработке новой модели в серийную ходовую часть мотоцикла М-72 был установлен верхнеклапанный мотор. Так появилась переходная модель М-61. После наладки серийного выпуска и проведенной модернизации отдельных частей машины была создана следующая модель М-62.
![]()
![]()
Киевский завод начал создание новой модели мотоцикла К-750 с кардинальной переделки ходовой части Мотоцикла М-72. Конструкция двигателя подверглась при этом незначительным изменениям.
![]()
Мотоциклы относятся к классу тяжелых машин, предназначенных для эксплуатации преимущественно с прицепными колясками. Мотоциклы снабжены двухцилиндровыми, четырехтактными двигателями с оппозитным расположением цилиндров.
На описываемых мотоциклах между коробкой передач и задним колесом установлена карданная передача, обладающая большей по сравнению с цепной надежностью и износостойкостью.
Более поздние модификации мотоцикла Урал 2М-63, М-66, М-67 и 8-103.10 хотя и имеют некоторые изменения, но в целом повторяются конструктивные решения М-61 и М-62. Первое существенное отличие – переход от т.н. свечной рамы М-62 на 2М-63 на маятниковую подвеску заднего колеса. На первых М-63 устанавливался двигатель от М-62.
Следующим изменением была масляная система двигателя, М-66 куда был добавлен масляный фильтр, соответственно подверглась изменению передняя крышка двигателя.
![]()
М-67 – в простонародье «совнархоз» получил 12-ти вольтовое электрооборудование. Поздние М-67, а также Урал 8-103.10 и модификации получили измененные головки цилиндра (Изменились углы хода и диаметр тарелок клапанов, а соответственно и коромысла клапанов). Ещё одним изменением было добавление передачи заднего хода в коробку передач. Также произошла замена карбюраторов К-301 на карбюраторы К-63.
Мотоцикл с коляской М-63 Урал-2
![]()
Годы выпуска: 1963—1980
![]()
Техническая характеристика мотоцикла Урал М-63
Габаритные размеры, мм длина 2420 ширина 1640 высота 1100 База мотоцикла (расстояние между осями колес), мм 1100 Дорожный просвет при полной нагрузке и нормальном давлении в шинах, мм 150 Колея, мм 1130 Максимальная скорость, км/ч 95 Масса, кг 310 Максимальная нагрузка, кг 255 Средний эксплуатационный расход топлива на 100 км пути при движении в различных дорожных условиях с переменной нагрузкой,л 6 Двигатель Тип Четырехтактный, карбюраторный, двухцилиндровый с оппозитным расположением цилиндров, воздушным охлаждением Рабочий объем, см3 650 Диаметр цилиндра, мм 78 Ход поршня, мм 78 Степень сжатия 7 Максимальная мощность, л.с. 32 Максимальная мощность, кВт 23,5 Частота вращения коленчатого вала при максимальной мощности, об/мин. 5000-5200 Максимальный крутящий момент. Нм 47 Карбюратор К-301 Г Воздухоочиститель Комбинированный инерционный контактно-масляный фильтр с двухступенчатой очисткой Трансмиссия Сцепление Сухое двудисковое, ведомые диски с накладками с обеих сторон Карданная передача Карданный вал с эластичной муфтой и шарниром на игольчатых подшипниках Главная передача Пара конических колес со спиральными зубьями, передаточное число - 4,62 Коробка передач Четырехступенчатая, с передаточными числами на 1,2,3,4 передачах 3,6;2,28;1,7;1,3 соответственно Электрооборудование Система зажигания Батарейная Напряжение, В 6 Аккумуляторная батарея 3МТ-12 Генератор Г-414 Реле-регулятор РР-302 Прерыватель-распределитель ПМ11А Катушка зажигания Б201 Ходовая часть Рама Трубчатая двойная закрытого типа Подвеска переднего колеса Телескопическая вилка с гидравлическими амортизаторами двустороннего действия Подвеска заднего колеса Рычажная на пружинно-гидравлических амортизаторах двустороннего действия, регулируемых по высоте Ход переднего колеса, мм 140 Ход заднего колеса, мм 90 Размер шин, дюйм 3,75-19 Тормоза Колодочные, с фрикционными накладками на переднем и заднем колесе Заправочные объемы Топливный бак, л 20 Картер двигателя, л 2 Картер коробки передач, л 0,8 Картер главной передачи, л 0,13 Воздухоочиститель, л 0.2
М-63. Рама и коляска
Рама — основной несущий элемент мотоцикла, к которому крепятся все узлы и агрегаты мотоцикла. Рама мотоцикла двойная, трубчатая, сварная закрытого типа.
Устройство и основные элементы рамы мотоцикла и коляски показаны на рис. 1.
Рис 1. Рама мотоцикла и коляски:
11— рама мотоцикла; 2 — передняя моторная шпилька; 3 — переднее цанговое крепление; 4 — болт цангового креплечия; 5 — подставка мотоцикла; 6 — педаль ножного тормоза; 7 — правая подножка водителя; 8 — буфер подставки; 9 — тяга крепления рамы коляски; 10— подножка пассажира; 11 — рама коляски; 12 — рессора; 13— стремянка рессоры; 14 — рычаг оси колеса; 15 — ось колеса коляски; 16 — защитный колпак ступицы колеса; 17 — защитный диск тормозного барабана; 18 — буфер; 19 — крыло коляски; 20 — габаритный фонарь; 21— балка крепления кузова коляски; 22— башмак рессоры; 23— заднее цанговое крепление; 24 — маятниковый рычаг задней подвески; 25 — амортизатор; 9.6 — кронштейн номерного знака; 27— бугель заднего щитка; 28 — седло пассажира; 29 — ручка седла пассажира; 30 — задний щиток; 31 — седло водителя; 32— кронштейн крепления бензобака; 33 — левая подножка водителя; 34 — кронштейн крепления двигателя; 35 — задняя моторная шпилька; 36 — регулировочная вилка тяги; 37 — передняя тяга крепления рамы коляскиРама коляски прямоугольной формы, соединяется с рамой мотоцикла цанговыми зажимами 3 и 23 и двумя стойками 9 и 37. В задней части к раме приварены кронштейны для крепления листовых четверть-эллиптических рессор.
Колесо коляски соединяется с рамой 11 торсионной подвеской. Для защиты от загрязнения внутренняя полость тормозных барабанов колес закрыта щитком 17.
Рис. 2. Торсионная подвеска колеса коляски:
1 — заглушка торсиона; 2 — обойма сальника; 3 — ступица оси рычага; 4 — задняя труба рамы коляски; 5 — торснон; 6 — стяжные болты; 7—задний; кронштейн цангового соединения; 8 — левая труба рамы коляски; 9 — ограничитель хода рычага подвески; 10— резиновый буфер; 11 — ось колеса; 12 — рычаг оси колеса; 13 — сальник; 14 — кольцо сальника; 15 — ось рычагаТорсионная подвеска колеса (рис. 2) монтируется в задней поперечной трубе 4 рамы. Торсион 5 имеет на концах мелкие треугольные шлицы для соединения с внутренней муфтой трубы и осью рычага 15. Внутренняя муфта трубы имеет шлице-вое отверстие и приварена к трубе рамы.
Ось рычага полая с внутренними шлицами. Наружными шлифованными поверхностями ось рычага установлена в ступицу оси 3. На внешнем конце оси рычага крепится сегментными шпонками и болтами рычаг оси колеса 12. Ступица оси рычага вставлена в заднюю поперечную трубу рамы и фланцем крепится к раме коляски.
Перемещение рычага оси колеса в вертикальной плоскости ограничивается кронштейном 9, приваренным к правой продольной трубе рамы коляски. Удары рычага о кронштейн при его резких колебаниях поглощаются резиновым буфером 10, закрепленным на кронштейне. Щиток колеса коляски 19 (см. рис. 2) крепится на трех кронштейнах; средний кронштейн укреплен на правой рессоре стремянками.
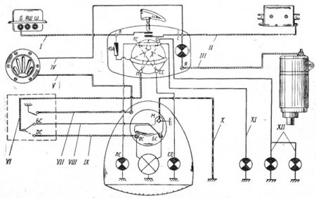
Электрическая схема взятая из родного мануала М-63
Рис. 32. Схема электрооборудования мотоцикла:
1 — фара; 2 — зажигательная свеча; 3 — искроразрядиик; 4 — двухискровая катушка зажигания; 5 — прерыватель с автоматом опережения зажигания; 6 — генератор; 7 — задний фонарь мотоцикла; 8 — передний габаритный фонарь коляски; 9 — задний фонарь коляски; 10 — аккумуляторная батарея; 11 — реле-регулятор; 12 — включатель стоп-сигнала; 13 — сигнал; 14 — переключатель света и кнопка сигнала
Подводка и расцветка проводов:
I—к катушке зажигания (красный); II—к фонарю мотоцикла (черный); III—на «массу» (коричневый); IV—к прерывателю (красный); V — к фонарям коляски (черный); VI — От генератора к клемме; ЯШ реле-регулятора (зеленый); VII —к клемме Я генератора (зеленый); VIII —к нити лампы ближнего света (черный); IX —к нити лампы дальнего света (зеленый); X—от кнопки сигнала к фаре (желтый); XI — к переключателю света (синий); XII —к сигналу (черный); XIII — от сигнала к фаре (желтый); XIV —к зажиму Б реле-регулятора (синий); XV — от реле-регулятора к клемме Ш генератора (коричневый); XVI —к аккумулятору (синий)
Схема монтажа проводов в фаре:
I-к зажиму Б реле регулятора (синий); II-к катушке зажигния; III-к клемме Я генератора (зеленый); IV-к сигналу (черный); V-от сигнала к фаре; VI-к переключателю света (синий); VII-от кнопки сигнала к фаре (желтый); VIII-к нити лампы ближнего света (черный); IX-к нити лампы дальнего света (зеленый); X-на "массу" (коричневый); XI-к фонарю мотоцикла (черный); XII-к фонарям коляски (черный)
Рис 12. Схема системы зажигания:
1 — свеча; 2 — прерыватель; 3 — молоточек прерывателя; 4 — наковальня прерывателя; 5 — кулачок зажигания; 6 — конденсатор; 7— аккумуляторная батарея; 8 — фара; 9 — контакты замка зажигания; 10 — ключ замка зажигания; 11 — двухискровая катушка зажигания; 12 — искровые разрядники; 13 — вторичная обмотка; 14 — первичная обмотка
Источник:
Кросс 1000
«Кросс 1000» - специальный мотоцикл с коляской для кросса. Выпускался эксперементально, небольшими партиями.
Год выпуска "Кросс 1000" - 1981 г.
Рабочий объем двигателя 925 куб.см.
Максимальная скорость 85 км/час.
Мощность 60 л.с.
мотоцикл М-63С Стрела
Кроме опытных разработок серийной продукции, на заводе всегда много внимания уделяли спорту - кроссу и шоссейным гонкам. В разное время на предприятии готовилось много моделей спортивной техники. Упомянем 1000-кубовый «Кросс 1000» и «Стрелу» М-63С - специальный мотоцикл с коляской для шоссейно-кольцевых гонок конца 60-х годов, а также долгое время выпускавшийся для мотоклубов кроссовый мотоцикл с коляской ИМЗ-8.201.
ТЕХНИЧЕСКАЯ ХАРАКТЕРИСТИКА МОТОЦИКЛА «СТРЕЛА-1» М-63К.По специальным заказам Ирбитский мотоциклетный завод выпускает спортивные мотоциклы «Стрела - 1» Эта модель отличается от выпускаемой промышленностью мотоциклов подобного типа.
«Стрела-1» имеет узкую специализацию и предназначен для скоростных соревнований по замкнутой кольцевой трассе с гладким твердым покрытием. Мощный верхнеклапанный четырехтактный карбюраторный двигатель «Стрелы - 1» имеет рабочий объем цилиндров 649 кубических сантиметров и развивает мощность до 50-55 л.с. Такой двигатель обеспечивает скорость мотоцикла на прямых участках до 150 км/час.
Колеса мотоцикла снабжены шинами увеличенного размера (3.5”-16”), имеющем специальный рисунок протектора и прочный корд на капроновой основе. Двигатель «Стрелы-1» работает на бензинах с октановым числом не менее 90.
Степень сжатия - 9.0-+0.2.
Бензобак-24 литра.
Система смазки двигателя - под давлением и разбрызгиванием, зажигание - батарейное.
База мотоцикла - 1352мм, Колея - 1100мм, дорожный просвет 90 милиметров.
Сухой вес с коляской 210 килограммов.
Мотоцикл Урал Стрела-1
Спортивная модель мотоцикла Урал.
Выпускалась в экспериментальном варианте небольшими партиями специально для шоссейно-кольцевых гонок.
Год выпуска "Стрела-1" - 1969 г.
Рабочий объем двигателя 750 куб.см.
Максимальная скорость 180 км/час.
Мощность 65 л.с.
Сухой вес с коляской 210 кг.
Мотоцикл Урал С-51
Габаритные размеры:
длина 2490 мм ширина 1650 мм высота 1100 мм дорожный просвет 200 мм масса 240 кг Двигатель:
рабочий объем 649 см3 диаметр х ход 78х68 степень сжатия 8,0 - 8,5 карбюраторы К-301Г зажигание магнето М-90 топливо бензин АИ-93 вместимость бака 19л коляска специальная, открытого типа
Мотоцикл Урал ИМЗ-8.103-10
Техническая характеристика мотоцикла Урал ИМЗ-8.103
Габаритные размеры, мм длина 2490 ширина 1700 высота 1100 База мотоцикла (расстояние между осями колес), мм 1100 Дорожный просвет при полной нагрузке и нормальном давлении в шинах, мм 125 Колея, мм 1160 Максимальная скорость, км/ч 105 Масса, кг 320 Максимальная нагрузка, кг 260 Средний эксплуатационный расход топлива на 100 км пути при движении в различных дорожных условиях с переменной нагрузкой,л 8 Двигатель Тип Четырехтактный, карбюраторный, двухцилиндровый с оппозитным расположением цилиндров, воздушным охлаждением Рабочий объем, см3 650 Диаметр цилиндра, мм 78 Ход поршня, мм 78 Степень сжатия 7 Максимальная мощность, л.с. 36 Максимальная мощность, кВт 26,5 Частота вращения коленчатого вала при максимальной мощности, об/мин. 5000-5200 Максимальный крутящий момент. Нм 47 Карбюратор К-302 Воздухоочиститель Комбинированный инерционный контактно-масляный фильтр с двухступенчатой очисткой Трансмиссия Сцепление Сухое двудисковое, ведомые диски с накладками с обеих сторон Карданная передача Карданный вал с эластичной муфтой и шарниром на игольчатых подшипниках Главная передача Пара конических колес со спиральными зубьями, передаточное число - 4,62 Коробка передач Четырехступенчатая, с передаточными числами на 1,2,3,4 передачах 3,6;2,28;1,7;1,3 соответственно Электрооборудование Система зажигания Батарейная Напряжение, В 12 Аккумуляторная батарея 6МТС-9 Генератор Г-424 Реле-регулятор РР-330 Прерыватель-распределитель ПМ302 Катушка зажигания Б204 Ходовая часть Рама Трубчатая двойная закрытого типа Подвеска переднего колеса Телескопическая вилка с гидравлическими амортизаторами двустороннего действия Подвеска заднего колеса Рычажная на пружинно-гидравлических амортизаторах двустороннего действия, регулируемых по высоте Ход переднего колеса, мм 140 Ход заднего колеса, мм 95 Размер шин, дюйм 3,75-19 Тормоза Колодочные, с фрикционными накладками на переднем и заднем колесе Заправочные объемы Топливный бак, л 19 Картер двигателя, л 2,3 Картер коробки передач, л 1,2 Картер главной передачи, л 0.11 Воздухоочиститель, л 0.125
Опытных мотоциклов было очень много, и перечислить их все нет никакой возможности. Чего стоит хотя бы М-65 - мотоцикл, получивший сдвоенную фару, широкопрофильные шины, новую коляску и гидравлический привод тормозов. Но завод финансировался по остаточному принципу, и «наверху» не видели смысла вкладывать средства в кардинальное обновление мотоциклов: за ними и так стояли в очереди.
М-65 - раритет в Ирбитском мотоциклетном музее
мотоцикл М-66
Мотоцикл с коляской М-66 Урал-3
![]()
Габаритные размеры, мм, не более:
длина: 2420 ширина: 1570 высота: 1100 База, мм: 1450 Масса (сухая), кг, не более: 320 Максимальная нагрузка (включая массу водителя, пассажиров и груз в коляске), кг, не более: 255 Максимальная скорость, км/ч, не менее: 95 Тип двигателя: Верхнеклапанный Рабочий объем, см3: 649 Диаметр цилиндра и ход поршня, мм: 78X68 Степень сжатия: 6,2 Максимальная мощность, кВт, не менее: 20,6 Частота вращения коленчатого вала при максимальной мощности, мин-1, не более: 5200 Максимальный вращающий момент, Н-м: 44,1 Вместимость топливного бака, л: 22 Карбюраторы: К-301 Подвеска заднего колеса: Маятниковая Передняя вилка: Телескопическая Номинальное напряжение в сети, В: 6 Годы выпуска: 1963—1980
Техническая характеристика мотоцикла Урал М-66
Габаритные размеры, мм длина 2420 ширина 1640 высота 1100 База мотоцикла (расстояние между осями колес), мм 1100 Дорожный просвет при полной нагрузке и нормальном давлении в шинах, мм 150 Колея, мм 1130 Максимальная скорость, км/ч 105 Масса, кг 320 Максимальная нагрузка, кг 255 Средний эксплуатационный расход топлива на 100 км пути при движении в различных дорожных условиях с переменной нагрузкой,л 5.8 Двигатель Тип Четырехтактный, карбюраторный, двухцилиндровый с оппозитным расположением цилиндров, воздушным охлаждением Рабочий объем, см3 650 Диаметр цилиндра, мм 78 Ход поршня, мм 78 Степень сжатия 7 Максимальная мощность, л.с. 32 Максимальная мощность, кВт 23,5 Частота вращения коленчатого вала при максимальной мощности, об/мин. 5600-5900 Максимальный крутящий момент. Нм 48 Карбюратор К-301 Б Воздухоочиститель Комбинированный инерционный контактно-масляный фильтр с двухступенчатой очисткой Трансмиссия Сцепление Сухое двудисковое, ведомые диски с накладками с обеих сторон Карданная передача Карданный вал с эластичной муфтой и шарниром на игольчатых подшипниках Главная передача Пара конических колес со спиральными зубьями, передаточное число - 4,62 Коробка передач Четырехступенчатая, с передаточными числами на 1,2,3,4 передачах 3,6;2,28;1,7;1,3 соответственно Электрооборудование Система зажигания Батарейная Напряжение, В 6 Аккумуляторная батарея 3МТ-12 Генератор Г-414 Реле-регулятор РР-302 Прерыватель-распределитель ПМ302 Катушка зажигания Б201 Ходовая часть Рама Трубчатая двойная закрытого типа Подвеска переднего колеса Телескопическая вилка с гидравлическими амортизаторами двустороннего действия Подвеска заднего колеса Рычажная на пружинно-гидравлических амортизаторах двустороннего действия, регулируемых по высоте Ход переднего колеса, мм 140 Ход заднего колеса, мм 90 Размер шин, дюйм 3,75-19 Тормоза Колодочные, с фрикционными накладками на переднем и заднем колесе Заправочные объемы Топливный бак, л 20 Картер двигателя, л 2,3 Картер коробки передач, л 1,2 Картер главной передачи, л 0.13 Воздухоочиститель, л 0.125
Мотоцикл «Урал» М-67
Тяжелые мотоциклы Ирбитского мотоциклетного завода хорошо знакомы мотолюбителям. Выпускавшийся в последнее время «Урал-3» М-66 зарекомендовал себя как надежная, удобная машина, способная преодолевать большие расстояния с высокой скоростью.
Новая модель «Урал» М-67 имеет большую надежность, долговечность и лучшую проходимость. Внешне «Урал» М-67 почти не отличается от своего предшественника. Незначительно изменилась рама. Стойки крепления задней маятниковой вилки смещены назад на 20 мм. Благодаря этому стало возможным снимать коробку передач и заменять муфту упругого кардана, не снимая двигатель. На мотоцикл М-67 можно установить коробку передач с карданным валом от мотоцикла «Днепр».
На новой модели мотоцикла вместо 6-вольтового применено 12-вольтовое электрооборудование. С этой целью установлен более мощный (150 Вт) генератор переменного тока со встроенным выпрямителем.
Благодаря применению двухкулачкового тормоза переднего колеса значительно повысилась эффективность торможения. Износ тормозных накладок компенсируется регулировочными болтами.
Небольшая партия мотоциклов будет выпущена с седлом-подушкой, чтобы на практике проверить достоинство таких седел по сравнению с треугольными.
Достоинством мотоцикла М-67 является высокая унификация его узлов и деталей с мотоциклом «Днепр» МТ-10.Техническая характеристика мотоцикла Урал М-67
Габаритные размеры, мм длина 2420 ширина 1700 высота 1100 База мотоцикла (расстояние между осями колес), мм 1100 Дорожный просвет при полной нагрузке и нормальном давлении в шинах, мм 125 Колея, мм 1160 Максимальная скорость, км/ч 105 Масса, кг 330 Максимальная нагрузка, кг 255 Средний эксплуатационный расход топлива на 100 км пути при движении в различных дорожных условиях с переменной нагрузкой,л 8 Двигатель Тип Четырехтактный, карбюраторный, двухцилиндровый с оппозитным расположением цилиндров, воздушным охлаждением Рабочий объем, см3 650 Диаметр цилиндра, мм 78 Ход поршня, мм 78 Степень сжатия 7 Максимальная мощность, л.с. 32 Максимальная мощность, кВт 23,5 Частота вращения коленчатого вала при максимальной мощности, об/мин. 5000-5200 Максимальный крутящий момент. Нм 47 Карбюратор К-301Г Воздухоочиститель Комбинированный инерционный контактно-масляный фильтр с двухступенчатой очисткой Трансмиссия Сцепление Сухое двудисковое, ведомые диски с накладками с обеих сторон Карданная передача Карданный вал с эластичной муфтой и шарниром на игольчатых подшипниках Главная передача Пара конических колес со спиральными зубьями, передаточное число - 4,62 Коробка передач Четырехступенчатая, с передаточными числами на 1,2,3,4 передачах 3,6;2,28;1,7;1,3 соответственно Электрооборудование Система зажигания Батарейная Напряжение, В 12 Аккумуляторная батарея 3МТ-6 Генератор Г-424 Реле-регулятор РР-302 Прерыватель-распределитель ПМ302 Катушка зажигания Б204 Ходовая часть Рама Трубчатая двойная закрытого типа Подвеска переднего колеса Телескопическая вилка с гидравлическими амортизаторами двустороннего действия Подвеска заднего колеса Рычажная на пружинно-гидравлических амортизаторах двустороннего действия, регулируемых по высоте Ход переднего колеса, мм 140 Ход заднего колеса, мм 95 Размер шин, дюйм 3,75-19 Тормоза Колодочные, с фрикционными накладками на переднем и заднем колесе Заправочные объемы Топливный бак, л 20 Картер двигателя, л 2,3 Картер коробки передач, л 1,2 Картер главной передачи, л 0.11 Воздухоочиститель, л 0.125Годы выпуска: 1974—1977
Техническая характеристика мотоцикла Урал М 67-36
Габаритные размеры, мм длина 2490 ширина 1700 высота 1100 База мотоцикла (расстояние между осями колес), мм 1100 Дорожный просвет при полной нагрузке и нормальном давлении в шинах, мм 125 Колея, мм 1160 Максимальная скорость, км/ч 105 Масса, кг 330 Максимальная нагрузка, кг 260 Средний эксплуатационный расход топлива на 100 км пути при движении в различных дорожных условиях с переменной нагрузкой,л 8 Двигатель Тип Четырехтактный, карбюраторный, двухцилиндровый с оппозитным расположением цилиндров, воздушным охлаждением Рабочий объем, см3 650 Диаметр цилиндра, мм 78 Ход поршня, мм 78 Степень сжатия 7 Максимальная мощность, л.с. 36 Максимальная мощность, кВт 26,5 Частота вращения коленчатого вала при максимальной мощности, об/мин. 4600-4900 Максимальный крутящий момент. Нм 45 Карбюратор К-301Г Воздухоочиститель Комбинированный инерционный контактно-масляный фильтр с двухступенчатой очисткой Трансмиссия Сцепление Сухое двудисковое, ведомые диски с накладками с обеих сторон Карданная передача Карданный вал с эластичной муфтой и шарниром на игольчатых подшипниках Главная передача Пара конических колес со спиральными зубьями, передаточное число - 4,62 Коробка передач Четырехступенчатая, с передаточными числами на 1,2,3,4 передачах 3,6;2,28;1,7;1,3 соответственно Электрооборудование Система зажигания Батарейная Напряжение, В 12 Аккумуляторная батарея 6МТС-9 или 2шт.3МТ-6 Генератор Г-424 Реле-регулятор РР-330 Прерыватель-распределитель ПМ302 Катушка зажигания Б204 Ходовая часть Рама Трубчатая двойная закрытого типа Подвеска переднего колеса Телескопическая вилка с гидравлическими амортизаторами двустороннего действия Подвеска заднего колеса Рычажная на пружинно-гидравлических амортизаторах двустороннего действия, регулируемых по высоте Ход переднего колеса, мм 140 Ход заднего колеса, мм 95 Размер шин, дюйм 3,75-19 Тормоза Колодочные, с фрикционными накладками на переднем и заднем колесе Заправочные объемы Топливный бак, л 19 Картер двигателя, л 2,3 Картер коробки передач, л 1,2 Картер главной передачи, л 0.11 Воздухоочиститель, л 0.125
мотоцикл М-35
Спортивная модель.
Создан на базе М-72. Отличается от М-72 двигателем новой конструкции объемом 350 см3 и немного облегченной ходовой частью
Мотоцикл М-35. Двигатель двухцилиндровый четырехтактный верхнеклапанный с горизонтальным расположением цилиндров. Рабочий обьем 350 см.куб Передача карданная Мощность около 20 л.с при 6000 об.минТехнические характеристики:
объем двигателя 348 см3 диаметр цилиндра 62 мм ход поршня 58 мм макс мощность 24 лс при 6500 об/мин объем бака 22 л сухой вес 166 кг
мотоцикл М-52
Одновременно с модернизацией серийной машины М-72 на заводе велись работы по созданию совершенно нового мотоцикла, который отличался полностью переработанным двигателем.
Появившаяся в 1957 году модель М-52 имела верхнеклапанный мотор рабочим объемом 494 см3 и мощностью 25 л.с.
Передняя вилка была изменена - ось колеса конструкторы вынесли вперед, в то время, как у 750-кубовых мотоциклов ось крепилась на концах перьев передней вилки. Колеса с 18-дюймовыми покрышками получили специальные ступицы из алюминиевого сплава.
На базе М-52 строились также мотоциклы М-52С для шоссейно-кольцевых гонок. Главное отличие М-52 - мотоцикл этот предназначался только для эксплуатации без коляски. К тому же по характеристикам двигателя это была чисто шоссейная машина.
Неудивительно, что она пришлась по вкусу очень немногим, а попытки использовать ее с коляской и на пересеченной местности успехом не увенчались.
Тем не менее, свою роль мотоцикл сыграл: разработанные для него головки цилиндров и коленчатый вал с уменьшенными ходами поршней в сочетании с прочими деталями мотора М-72 породили верхнеклапанную серию 650-кубовых двигателей, которые выпускаются и сегодня.
мотоцикл М-52С
Мотоциклы М-52С изготавливались на ИМЗ в экперементальном цехе специально для шоссейно-кольцевых гонок.
Год выпуска 1961
Сухая масса 170 кг.
Максимальная скорость 180 км/час.
Рабочий объем двигателя 494 куб.см.
Мощность 39,5 л.с.
мотоцикл М-53С
В 1956 году завод изготовил образцы новых дорожных и спортивных машин "К-750СМ" и "М-53С", которые получили заслуженное признание на республиканских, всесоюзных и международных гонках.
На международных гонках в Германской Демократической республике спортсмены-мастера спорта Колпаков А.А., Бойко Д.Н., Братковский Л.Е., на своих машинах завоевали три золотые медали и заняли первое место в командном зачете.
МОТОЦИКЛ ИМЗ-8.1240000-10 УРАЛ КОБРА
В 1997-м году Ирбитский завод выпустил ограниченную партию мотоциклов для байкеров "Кобра" с двигателем объемом 720 куб. см и длинной выхлопной трубой. Отсутствие задней подвески и дизайн модели вызвал немало нареканий, и специалисты завода решили модернизировать мотоцикл, максимально приблизив его к классу чопперов. Это не спасло "Кобру", и эта модель, как и "Вояж", давно не производится и считается настоящим раритетом.
![]()
Двигатель: 650 см3;36л.с Бесконтактная электронная система зажигания: БЗС Система электрооборудования: 12В, альтератор 500Вт КПП: Четырехступенчатая Карданная передача Главная передача: Коническая пара Топливный бак: 23л. Макс.скорость: 130 Тормоза: Гидравлические. Передний - двухдисковый, задний - однодисковый Цвет: Желтый, черный
Что касается гоночных моделей ИМЗ, то это, к примеру, мотоцикл "Стрела-1" М-63С, выпускаемый для скоростных соревнований по замкнутой кольцевой трассе. Модель укомплектована верхнеклапанным карбюраторным двигателем объемом 649 куб. см мощностью 55 л.с. и разгоняется на прямых участках до скорости 150 км/час. Из самых необычных моделей можно выделить, пожалуй, коллекционный мотоцикл "Урал", расписанный под гжель, который американский дилер "Урала" выставил на аукцион в апреле 2009-го года. Начальная цена "гжельского" 750-кубового мотоцикла с коляской, развивающего скорость 95 км/ч, составила $14000.
Мотоцикл Урал Бейсик
Бюджетная модель, созданная на основе ИМЗ-8.1037 "Турист". Полностью отвечает задачам недорогого мотоцикла, принципиальной идеей создания которого было максимальное удешевление модели.
На нем практически отсутствуют хромированные детали (за исключением выхлопной системы и кожуха штанг двигателя, карданный вал покрыт твердым хромом ХТВ), двигатель не оснащен электростартером (но установка его принципиально возможна).
Нет ветровых щитков водителя и пассажира (на пологе коляски нет отверстий), боковых панелей, брызговиков, запасного колеса и кронштейна для его крепления, а также дуги безопасности и багажника на коляске. На "Бейсике" раздельные седла, при этом заднее седло с крепежом входит в комплект, но устанавливать его придется самостоятельно.
Мотоцикл окрашен в серый цвет (черного цвета рама мотоцикла и коляски, все маятники, передняя вилка, корпус воздухофильтра, центральная подставка, петли багажника, ободок фары), без цировки на баке и коляске.Бензобак комплектуется черной пластмассовой пробкой (а не хромированной с замком), все комплектующие (кроме карбюраторов KEIHIN, для которых отечественные троса специально доработаны), отечественного производства. Шины, оптика, АКБ и прочее соответствует европейской спецификации.
Модель: ИМЗ-8.1037 Габариты ДхШхВ, мм: 2580х1700х1100 Дорожный просвет, мм: 125 Сухая масса, кг: 363 Полная масса, кг: 620 Топливный бак, л: 19 Максимальная скорость, км/ч: 105 Двигатель: 750 см3, 45 л.с., 4-тактный, 2 цилиндра, оппозитный OHV Запуск: кикстартер Система электрооборудования: 12 В, генератор 500 Вт КПП: 4-ступенчатая, с задним ходом Главная передача: карданная Передаточные числа: I; II; III; IV; Задн.ход.: 3,6; 2,28; 1,56; 1,19; 4,36 Передаточное число главной передачи: 4,62 Шины: 4,00х - 19" Тормоза: спереди - барабанные ИМЗ
сзади - барабанные ИМЗПодвеска: спереди - Рычажная с пружинно-гидравлическими амортизаторами регулируемыми по нагрузке
сзади - Маятниковая с пружинно-гидравлическими амортизаторами регулируемыми по нагрузке
|
© 2008 - 2025
motoSvit |
|||
|
|
|||