Первое ТО ненового мотоцикла
Выбор, маркировка и замена масла на мото-технике
Настройки мотоцикла
Все, мотоцикл подготовлен, протянут, обслужен и обкатан.
Первые тренировки позади и пора в бой. Вы приехали на трассу, +25, сухо, и
даже хорошо политая трасса превращается в железобетон. Карбюратор богатит,
мотор захлебывается и не вывозит плавно из жестких поворотов, срывая в букс
заднее колесо. Тут еще и вилка стала “ крестить ” и “ забивает ” руки. В
общем мотоцикл ведет себя как не объезженный конь. Что же, пора переходить к
главному - регулировкам карбюратора и ходовой части под конкретные погодные
условия и трассу. Но прежде чем бросаться “ с вилами на паровоз “ необходимо
уяснить принципы работы этих устройств, с которых мы и начнем.
Карбюратор
Принципиально устройство всех карбюраторов, установленных на двухтактных
двигателях, а так же взаимосвязь различных систем карбюратора, отличается
незначительно, но перед тем, как делать любые работы с карбюратором
необходимо проверить следующее:
1.Воздушный фильтр - должен быть свежий, чистый и смазанный;
2.Выхлопная система - должна быть стандартной (для начала работ);
3.Патрубки и хомуты впуска и выпуска - должны быть плотно затянуты;
4.Карбюратор - должен быть чистым как снаружи, так и внутри;
5.Набор жиклеры, игла, заслонка - должен быть стандартным (для начала
работ);
6.Двигатель должен быть прогрет до нормальной рабочей температуры;
7.Все необходимые иглы и жиклеры должны быть в наличии.
Важная информация:
В связи со специфическим устройством мотоциклетных карбюраторов все системы
карбюратора работают параллельно и постоянно от холостого хода и до
максимальных оборотов, в зависимости от степени открытия дроссельной
заслонки. Поэтому ошибка при регулировке, например, холостого хода, приведет
к ошибке при подборе главного топливного жиклера. Поэтому главный принцип -
тщательность и аккуратность.
Мы не будем приводить детальное описание работ по различным моделям
карбюраторов и регулировочные таблицы для различных моделей мотоциклов. Эта
информация есть в поставляемых с мототехникой наборах документов, надо
только не лениться читать (вообще регулировочная таблица карбюратора должна
стать вашей “ настольной книгой “). Мы приведем лишь базовую информацию.
Итак, приступаем.
1. Прежде всего надо отрегулировать уровень топлива в поплавковой камере.
Проверьте в инструкции, какой должна быть высота поплавка и отрегулируйте,
подгибая его язычок. Точность этой регулировки имеет принципиальное
значение, так как в дальнейшем вы будете уверены, что уровень топлива не
влияет на работу карбюратора.
2. Холостой ход - то есть работа карбюратора при закрытой дроссельной
заслонке
Ошибки в регулировках вносят хаос и сумбур в процесс регулировки
карбюратора, так как система холостого хода работает во всем диапазоне
открытия дроссельной заслонки.
Регулируется холостой ход:
а) жиклером холостого хода (расположен в корпусе карбюратора и доступен при
снятой поплавковой камере);
б) винтом качества (маленький латунный винт расположен снаружи карбюратора
на его левой по ходу стенке);
в) винтом количества смеси (расположен там же, но выше винта качества).
- Проверьте соответствие топливного жиклера холостого хода размеру,
требуемому для данных погодных условий и высоте места над уровнем моря, при
необходимости замените жиклер;
- Заведите и прогрейте двигатель, вращением винта качества смеси холостого
хода установите стабильные обороты двигателя, вращая винт от базового
положения (как правила это винт вывернутый 1.5 оборота). При этом закручивая
винт вы делаете смесь богаче, откручивая - беднее. - Винтом количества смеси
установите необходимые вам обороты холостого хода.
3. Переходной режим, то есть холостой ход - открытие дроссельной заслонки
(от 0% до 25% открытия дроссельной заслонки)
Работа двигателя на переходном режиме зависит прежде всего от правильного
подбора жиклера холостого хода, правильной регулировки холостого хода и
величины выреза в дроссельной заслонке. Чем больше вырез в дросселе, тем
беднее смесь и наоборот. Как правило необходимость замены дросселя возникает
редко, поэтому если на вашем мотоцикле проблемы с этим режимом, проверьте
еще раз регулировку холостого хода, а так же уровень топлива и запорную иглу
клапана карбюратора.
Примечание:
На четырехтактных мотоциклах в этом режиме начинает работать ускорительный
насос. Как правило он не имеет прямого привода от дроссельной заслонки и
приводится в действие отдельной пружиной. Его производительность можно
менять меняя жесткость пружины и размер подающего или перепускного жиклеров.
Чем больше жесткость пружины, тем быстрее ускорительный насос вступает в
работу, чем больше подающий жиклер тем богаче смесь, чем дольше перепускной
жиклер тем беднее смесь.
4. Частичное открытие дросселя (от 25% до 75% открытия дроссельной заслонки)
В начале этого режима (от 25% до 50% открытия дросселя) играет роль только
зазор между иглой и стенками тоннеля карбюратора, в котором игла
перемещается. Меняя диаметр иглы можно делать смесь богаче или беднее. Толще
игла - смесь беднее, тоньше игла - смесь богаче. Как правило иглы
различаются по диаметру цилиндрической части с шагом 0,01 мм.
В конце этого режима (от 50% до 75% открытия дросселя) играет роль
конфигурация конической части иглы и ее положение в дроссельной заслонке.
Переставляя иглу вверх или вниз можно делать смесь богаче или беднее (вверх
- богаче, вниз - беднее). Можно так же заменить иглу на другую, с более
острым или более полным профилем конической части. Острее профиль - смесь
богаче, плавнее профиль - смесь беднее.
Игла доступна только при снятой верхней крышке карбюратора. К сожалению на
многих мотоциклах для доступа к игле карбюратор приходится снимать.
5. Полное открытие дросселя (75% - 100% открытия дроссельной заслонки)
В этом режиме играет роль только размер главного топливного жиклера, который
доступен снаружи карбюратора, при отвернутой сливной пробке поплавковой
камеры. Установка жиклера большего размера делает смесь богаче, меньшего
размера - беднее. Правильность регулировки карбюратора в этом режиме
проверяется либо “ на слух ”, что требует немалого опыта, либо по цвету
изолятора свечи. После пробной поездки “ в полный газ ” в течение 30 - 45
секунд заглушите двигатель прямо на ходу на нейтральной передаче. Выверните
свечу и проверьте цвет изолятора - он должен быть темно - коричневого цвета.
Если изолятор черный и влажный - смесь богатая, если светло коричневый -
смесь бедная, если красно - бурого - срочно вылейте ваш бензин, так как в
качестве антидетонатора он содержит металлосодержащие соединения, что очень
опасно для сохранности вашего двигателя.
Примечание:
На части мотоциклов (как правило класса 250 см. куб.) установлены
дополнительные жиклеры, обогащающие смесь на высоких оборотах и работающие
под управлением электромагнитного клапана. На этих мотоциклах есть
возможность менять качество смеси на максимальных оборотах (от 6800 до 8500
оборотов в минуту), заменяя эти жиклеры.
Мы желаем вам успехов в этой кропотливой и, прямо надо сказать, нелегкой
работе. Помните, что от регулировок карбюратора напрямую зависит надежность
вашего двигателя, а успехи достигаются по мере получения практики и опыта.
Внимательно слушайте звук работы вашего двигателя, замечайте нюансы его
поведения на различных участках трассы. Ну и главное - читайте инструкции по
эксплуатации и не стесняйтесь задавать вопросы более опытным спортсменам и
механикам. Лучше задать двадцать вопросов и прослыть "чайником", чем один
раз "кончить" двигатель во время гонки.
6. Ходовая часть
Нет необходимости в очередной раз говорить, что от правильной регулировки
передней вилки и заднего амортизатора зачастую зависит не меньше, а часто и
больше, чем от мощности двигателя. Никакая подготовка двигателя не даст вам
преимуществ, если вы не сможете полностью ее реализовать, передвигаясь по
трассе мотокросса или эндуро из за неправильной работы ходовой части.
Поэтому засучите рукава и приступайте к самому увлекательному - регулировке
ходовой части. И опять мы не будем приводить рекомендаций по конкретным
моделям мотоциклов, а ограничимся общими для всех принцмипами. С чего
начинаем - с регулировки преднатяга пружин передней вилки и заднего
амортизатора и подбора пружин. Помните - данные регулировки проводятся “ на
холодную “.
Передняя вилка:
- поставьте мотоцикл на подставку с вывешенными колесами;
- замерьте расстояние между пыльником пера вилки и нижней точкой скользящей
(внутренней) трубы вилки и запишите результат;
- опустите мотоцикл на грунт и прожмите переднюю вилку несколько раз;
- еще раз замерьте расстояние между пыльником пера вилки и нижней точкой
скользящей (внутренней) трубы вилки и запишите результат;
- сравните результаты замеров.
Разница между двумя замерами называется “ статическим прогибом “ и должна
быть в пределах 25 - 40 мм. Если статический преднатяг менее 25 мм., то
преднатяг пружин передней вилки должен быть уменьшен, если белее 40 мм. то
увеличен. Как это сделать вы можете проверить в вашей инструкции по
эксплуатации мотоцикла. Данная регулировка позволяет получить правильное
базовое положение мотоцикла относительно грунта.
Подбор жесткости пружин передней вилки:
После того, как вы отрегулировали преднатяг пружин передней вилки, нужно
проверить, а подходят ли вам пружины по жесткости. Не секрет, что
производители мототехники делают мотоциклы для “виртуального“ спортсмена,
подгоняя характеристики вилок и амортизаторов под среднестатистический вес
(для мотоциклов 125 - 500 см. куб это 75 - 80 кг.).
- оденьтесь полностью в гоночную форму и сядьте на мотоцикл;
- попросите кого либо подержать мотоцикл вертикально;
- в третий раз замерьте расстояние между пыльником пера вилки и нижней
точкой скользящей (внутренней) трубы вилки и запишите результат.
Разница между первым замером (с вывешенными колесами) и третьим замером (вы
в полной форме на мотоцикле) называется “ динамическим прогибом ” идолжна
составлять 30% полного хода перьев вилки, который указывается в техническом
описании мотоцикла. Например, если полный ход вилки 300 мм., то под вашим
весом результат замера должен быть в пределах 200 мм. и, соответственно,
прогиб должен быть 100 мм.
Если динамический прогиб менее 100 мм., то вам нужны более мягкие пружины,
если более 100 мм. - более жесткие пружины.
Задний амортизатор:
- поставьте мотоцикл на подставку с вывешенными колесами;
- замерьте расстояние между центром оси заднего колеса и концом заднего
бугеля и запишите результат;
- опустите мотоцикл на грунт и прожмите амортизатор несколько раз;
- еще раз замерьте то же расстояние и запишите результат;
- сравните результаты замеров.
Статический прогиб в данном случае должен быть в пределах 35 мм. +/ - 5 мм.
В противном случае отрегулируйте преднатяг пружины амортизатора, как описано
в инструкции по эксплуатации к вашему мотоциклу.
Подбор жесткости пружины заднего амортизатора:
- оденьтесь полностью в гоночную форму и сядьте на мотоцикл;
- попросите кого либо подержать мотоцикл вертикально;
- в третий раз замерьте расстояние между центром оси заднего колеса и концом
заднего бугеля и запишите результат;
- сравните результаты первого и последнего замеров.
В данном случае динамический прогиб должен быть в пределах 90 - 105 мм.
- если динамический прогиб менее 90 мм. при статическом прогибе 35 мм., то
пружина амортизатора слишком жесткая;
- если динамический прогиб более 105 мм. при статическом прогибе 35 мм., то
пружина амортизатора слишком мягкая.
Помните, что от правильного подбора жесткости пружин передней вилки и
заднего амортизатора и регулировки их преднатяга зависит управляемость
мотоцикла на трассе. К сожалению, у наших спортсменов наблюдается тенденция
сделать ходовую часть как можно мягче, с чем нельзя согласиться. В мире
мотоспорта чем быстрее едет спортсмен, тем жестче ходовая часть. Это закон
большого спорта, который у нас, как всегда, пытаются творчески переработать.
Владимир Виталин
ПОДВЕСКА СОВРЕМЕННОГО МОТОЦИКЛА, ПРИНЦИП РАБОТЫ И РЕГУЛИРОВКИ
Свободный пересказ текста by OM
Где лежит исходный текст - уже не помню, начал я переводить это произведение
давно...
PREL0AD
Самый первый, и самый важный шаг в настройке подвески, это задание
правильного предварительного поджатия пружин(preload). Предварительное
поджатие – это некоторое начальное усилие, нагружающее пружину, когда
подвеска полностью разгружена. Предварительное поджатие задает высоту
подвески (Когда пружина изначально поджата, то ее длина, как вы догадались,
уменьшается, соответственно и высота подвески уменьшается…ОМ). Правильно
выбранное предварительное поджатие помогает оптимально нагрузить подвеску и
заставить ее работать максимально эффективно и стабильно практически во всех
режимах движения. Большинство подвесок сконструировано так, чтобы эффективно
работать, когда одна треть хода подвески выбрана за счет веса гонщика, а
оставшиеся две трети хода как раз выполняют основную работу. В свою очередь,
практически все амортизаторы задней подвески подобраны таким образом, чтобы
максимально эффективно выполнять свои функции, взяв за отправную точку
строго определенное положение рычагов, поэтому правильная настройка
предварительного поджатия пружины позволяет подвеске работать именно в этом
положении.
Просадка(sag) (или предварительная просадка, ну или найдите более удобный
аналог слову sag - ОМ) это расстояние, на которое мотоцикл реально проседает
под весом гонщика. Просадка показывает, действительно ли правильно настроена
подвеска для работы с весом конкретного гонщика. Чтобы определить просадку
задней части мотоцикла, измерьте расстояние между задней осью и любой
выбранной точкой на хвосте мотоцикла, не нагруженного весом гонщика. Очень
важно чтобы подвеска была полностью разжата. Это означает, что вы должны
приподнять заднюю часть мотоцикла, так как его собственный вес тоже создает
некоторую просадку подвески. Затем, измерьте еще раз то же расстояние, но
уже с подвеской, нагруженной весом гонщика. Для более точного результата
гонщик должен поставить ноги на подножки и взяться руками за руль, а его
помощник удерживать мотоцикл в вертикальном положении. Разница между этими
двумя измерениями и будет являться предварительной просадкой подвески.
Насколько я понял, просадка обратно пропорциональна предварительному
поджатию, то есть чем жестче предустановка пружины - тем меньше подвеска
просядет под весом одного и того же гонщика…ОМ
Обратите внимание, измеряя прогиб подвески, что всегда есть некоторое
закусывание, присутствующее практически во всех амортизаторах, как передних,
так и задних. Чтобы произвести однозначно правильный замер, попросите
товарища чуть сжать подвеску когда вы сидите на мотоцикле и потом плавно
отпустить, чтобы она вернулась в исходное положение, измерьте прогиб, затем
попросите его чуть разгрузить подвеску и затем отпустить, дав подвеске опять
вернуться в исходное положение, потом опять измерьте прогиб. В обоих случаях
конечное положение подвески будет чуть разное, это покажет количество
закусывания или заедания, на величину которого будет отличаться измеренный
прогиб. Выберите среднее значение, это и будет «реальный» прогиб вашей
подвески.
После того как вы сделали эти настройки в подвеске, выезжайте на пробную
поездку и попробуйте отметить любые изменения в ощущениях. Не бойтесь внести
новые изменения, но попытайтесь отметить или записать разницу в ощущениях.
Слишком жесткая езда и плохое сцепление с дорогой однозначно указывают на
слишком большую предварительную нагрузку подвески, в то время как чуть
меньшая предварительная нагрузка спереди позволит переднему колесу
обкатывать неровности куда более мягко при активном выходе из поворота. Есть
распространенное заблуждение, что увеличенное предварительное поджатие
пружин спасает от клевков передней подвески, однако, на самом деле, решение
этой проблемы надо искать в более жестких пружинах или большем количестве
масла в подвеске. Если передняя подвеска вашего мотоцикла имеет регулировки
по предварительному поджатию, измерьте его тоже. Для этого затяните
пластиковый хомут или что-то подобное на внутренней трубе одного из перьев
передней вилки так, чтобы он мог скользить по трубе (для тех, кто в шлеме,
объясняю - затягивайте хомут на той трубе, которая блестящая…ОМ) и попросите
гонщика сесть на мотоцикл с ногами на подножках и руками на руле - в своей
обычной позе. После того как гонщик слезет, приподнимите мотоцикл, чтобы
полностью разгрузить переднюю подвеску и измерьте расстояние между хомутом и
сальником пера. Именно это расстояние в передней подвески и покажет, какой
ход вилки был использован, чтобы поддержать вес гонщика. Предварительная
просадка передней подвески должна быть немного больше, чем у задней,
примерно 3.2-3.8 см спереди и 2.5-3.1 см сзади.
Если у вас в передней вилке не предусмотрено регулировки предварительного
поджатия пружин, нет ничего сложного в том, чтобы осуществить это с помощью
подручных средств. Многие вилки оснащены шайбами между пружиной и ее верхней
опорой. Увеличивая или уменьшая толщину шайбы можно соответственно
увеличивать или уменьшать предварительное поджатие пружины. Многие гонщики
поступают именно так, используя в качестве проставки куски пластиковой
трубки, которые удобны в обработке и незначительно увеличивают вес подвески.
Используя такие трубки, вы можете легко изготовить несколько разной длины
проставок, устанавливая которые, можно регулировать предварительное поджатие
пружин передней подвески.
Для заметки:
Несколько поворотов регулировочной гайки наверху пера увеличит или уменьшит
предварительное поджатие, опустив или подняв регулировочную проставку в
верхней части трубы. Кольцевые канавки на этой проставке позволят вам точно
заметить регулировочные размеры.
Большая регулировочная шайба на заднем амортизаторе может быть или затянута,
нагружая пружину, или отпущена, ослабив нагрузку. Перед этой регулировкой
необходимо отпустить фиксирующеую шайбу, в случаях, если она не отпускается
ключем для регулировки, то, как правило, помогают несколько точных ударов
молотком через отвертку.
Чтобы замерить просадку задней подвески, измерьте расстояние от оси заднего
колеса до фиксированной точки прямо над ней, находящейся на раме. Что
касается переда, то очень важным моментом в замерах является полная
разгрузка подвески, причем обязательно сделайте несколько замеров, чтобы
убедиться что вы каждый раз полностью разгружаете подвеску.
DAMPING
Зная, какие технологические новшества, используются в современных
мотоциклах, невольно удивляешься тому, что подвеска до сих пор построена на
простейших и уже давно устаревших пружинах. Пружина работает, поглощая,
накапливая, а затем отдавая энергию, и стальная витая пружина идеально
подходит для использования в подвесках, потому что она работает в очень
гибкой манере. С того момента как используемая в подвеске пружина
предварительно правильно нагружена, она уже не работает в зонах полного
сжатия или полного растяжения, она работает где-то посередине. Точка, от
которой работает нагруженная пружина, называется точкой просадки("sag point").
Если бы пружина была единственным компонентом подвески, то при наезде
мотоциклом на кочку, пружина бы сжималась так быстро, как бы позволяли ей
сжаться ее витки. Кроме случаев, когда пружина навита прогрессивно, ее
сопротивление возрастает линейно, в зависимости от усилия, с которым она
сжимается. Сила, сжимающая пружину, встречает сопротивление пружины, но,
если сила сжатия прекращает свое действие, запасенная в пружине энергия
вызывает силы, действующие в противоположном направлении. Ничем не
сдерживаемый выброс этой энергии очень быстр и силен, он легко может
отбросить шасси назад, за точку просадки пружины. Вес байка(который теперь
обладает дополнительной энергией, так как был вытолкнут за точку равновесия
- точку просадки) в свою очередь сжимает пружину еще раз, и такие колебания
продолжаются некоторое время, пока не будет израсходована вся энергия.
Следовательно, байк будет скакать некоторое время после прохождения кочки,
пока не успокоится, а прыгающий байк не обещает приятной поездки, поэтому и
придумана такая нужная вещь как демпфирование(damping).
Демпфирование рассеивает часть энергии, которая накапливается в сжатой
пружине. Эта энергия через демпфирование превращается в тепло. Таким
образом, демпфирование можно использовать для контроля скорости сжатия(compression)
от наезда на кочку и распрямления (отбоя-(rebound)) пружины после проезда
кочки.
Это не только позволяет сгладить колебания пружины, демпфирование позволяет
гонщику настроить подвеску таким образом, чтобы она эффективно работала в
различных условиях движения. Многие серийные амортизаторы специально
недостаточно демпфированы, чтобы обеспечить лучший комфорт за счет
относительно худшей управляемости.
Для заметки:
Очень важно не перестараться с предварительным поджатием пружин в подвесках.
В таком случае сильно перегруженная пружина в свою очередь перегружает
демпфирующую систему и не дает ей работать в оптимальном режиме. Я полагаю,
мысль заключалась в том, что сильно поджатая пружина меняет свои
характеристики, ее работа становится борее жесткой, резкой и рваной, а
всвязи с этим требуется полная перенастройка гидравлики под другой режим
работы пружины...ОМ
REBOUND DAMPING
Как правило, винты регулировки отбоя(rebound damping) в передней подвеске
находятся в верхней части перьев вилки, в задней же подвеске регулировка
отбоя производится винтами снизу амортизатора. Если же подвеска вашего байка
имеет лишь одну регулировку по демпфированию, то, скорее всего, это
регулировка отбоя.
Регулировки демпфирования разделяются на регулировки быстрого и медленного
срабатывания амортизатора. Обычно только регулировки медленного срабатывания
можно отрегулировать снаружи, высокоскоростное срабатывание регулируется
путем добавления или удаления шайб внутри амортизатора.
При отсутствии демпфирования, кроме веса байка на пружину больше не
действует никаких сил во время ее распрямления. Это значит что в основном,
демпфирование нужно чтобы сохранить подвеску в равновесии. Необходимо
достаточное количество демпфирования, чтобы удержать пружину от распрямления
за пределы точки просадки или слишком быстрого распрямления после сжатия.
Таким образом необходимо получить плавный возврат подвески к точке просадки,
но в то же время это должно произойти достаточно быстро, чтобы подвеска
успела стабилизироваться перед следующим срабатыванием.
При регулировке отбоя, полезно будет ощутить, как максимально различные
регулировки влияют на работу подвески. Ослабьте отбой полностью и попробуйте
несколько раз быстро сжать и отпустить подвеску. Затем проделайте то же
самое, только с закрученным на максимум отбоем. С помощью этих нехитрых
манипуляций вы сможете получить представление, как же демпфирование
работает. Чем медленней возвращается подвеска после сжатия в свое исходное
положение, тем сильнее сопротивление демпфирования. В начале своих попыток
настроить подвеску, установите регулировку отбоя в среднее положение и
двигайтесь от этой точки. Недостаточно демпфированный байк ощущается
нечетким и вялым.
При недостаточном демпфировании отбоя, байк начнет раскачиваться и
подпрыгивать. Это явление особенно наглядно проявляется в связках быстрых
поворотов, в моменты вертикального положения байк пытается подпрыгнуть или
отрывает от земли переднее колесо. В противоположном случае, когда
демпфирования отбоя слишком много - байк начинает скакать по мелким
неровностям, что ощущается как полное отсутствие подвески. Это является для
вас о том, что подвеска перегружена и не успевает вернуться в исходное
положение(в точку просадки) между обработкой кочек. В результате, после
прохождения череды кочек, подвеска перестает выполнять свои функции, и все
удары принимает на себя рама.
COMPRESSION DAMPING
Регулировки демпфирования сжатия(compression damping) как правило
расположены в нижней части большинства вилок, а также наверху или на
вынесенном резервуаре заднего амортизатора. Обычно в работе подвески
задействовано меньше демпфирования сжатия чем отбоя, так как сама пружина
берет часть нагрузки по сопротивлению сжатию подвески.
Мои домыслы: при ходе сжатия подвески пружина облегчает работу гидравлики,
демпфирующей сжатие, почти на столько же( за вычетом потерь), насколько она
на ходе отбоя мешает гидравлике, демпфирующей отбой. Насколько мне известно
из умных книжек, обычно рекомендуемое настройщиками соотношение
демпфирования сжатия и отбоя соответственно 1/3 : 2/3, взяв за единицу
полностью затянутое положение, а за 0 - полностью отпущенное...Какая-то тут
есть закономерность, хотя, может это и бред полный, но я не уверен до
конца...помогайте...OM
При проезде кочки без демпфирования сжатия байк может резко просесть, сжав
подвеску полностью и не оставив запаса по ходу подвески для обработки
следующей кочки. Наоборот слишком большое количество демпфирования сжатия
приведет к практически полной остановке работы подвески, подвеска перестанет
обрабатывать кочки и начнет передавать все удары непосредственно на раму.
Подвеске требуется намного меньшее демпфирование сжатия, чем отбоя еще
потому, что обработка кочек должна происходить как можно быстрее, поэтому,
начиная регулировать демпфирование сжатия, отталкивайтесь от самого
маленького значения, прибавляя по щелчку до тех пор, пока езда не станет
жесткой и неприятной. Когда же вы почувствуете дискомфорт в езде, отпустите
регулировочный винт сжатия на пару щелчков и это положение должно быть
именно тем, которое необходимо для нормальной работы подвески.
Итак, слишком много демпфирования сжатия вызывает неприятные и жесткие
ощущения от езды, потому что подвеска не в состоянии сжиматься достаточно
быстро, чтобы обработать большие кочки, недостаточное количество
демпфирования сжатия позволяет байку раскачиваться и сильно проседать на
кочках.
Прежде чем вы сделаете какие-либо изменения в настройках подвески,
постарайтесь запомнить, как ведет себя байк и как вы себя ощущаете на нем.
Это станет для вас хорошим исходным ощущением. Затем, выезжайте на свою
любимую дорогу или трек с записной книжкой, запасясь достаточным количеством
времени и терпения. Двигайтесь постепенно, записывая все сделанные за раз
изменения. Старайтесь описать и записать, как ваши изменения влияют на
управляемость байка, а если управляемость ухудшилась - постарайтесь
запомнить, какие регулировки повлияли на это.
Если вы вдруг обнаружите что задний амортизатор вашего байка не имеет
регулировок по поджатию пружины и по регулировке гидравлики, вполне может
быть, что пришло время заменить его на другой, имеющий эти регулировки. Если
же передняя подвеска не поддается регулировкам, которые, вы считаете, вам бы
не помешали - не беда, существует множество наборов, включающих в себя
внутренние детали вилки которые вместе с маслом другой вязкости совершенно
изменят ее характеристики.
Старайтесь производить не более одной регулировки за раз, и такими темпами,
вы постепенно сможете отрегулировать подвески вашего байка так, что они
будут идеально соответствовать вашим запросам и пожеланиям.
Источник: http://www.superbike.ru/
Первое ТО ненового
мотоцикла
Существует немало
полезных советов типа "как выбирать неновый мотоцикл". Мы рассмотрим
ситуацию, когда новый конь уже куплен.
Вот он, красавец, стал
твоим. Еще не сошло с боков салонное лощение тефлоновой полиролью.
Краска сияет, хром блестит, резина черная. Сел и поехал, ан нет. Не
так быстро.
Что бы ни говорил
продавец (особенно если купленному аппарату более 3 лет от роду, или
он только что ввезен из заграницы), верить этому смысла мало.
Приготовьтесь не обижаться, если при дотошном осмотре найдутся следы
падений или скрученного втрое пробега. Ходят слухи, что Япония
страна маленькая, но не сильно меньше, чем город Москва. А по москве
за сезон наездить 15000 км - обычное дело. Так что 10 летний
мотоцикл с пробегом 12000 это малореальное дело. Приготовьтесь к
худшему.
Первое и основное -
масло и фильтры.
Те, кто считают японцев аккуратистами, глубоко заблуждаются. Эти
узкоглазые рыбоеды льют в любимых коней минералку, и меняют ее не
очень регулярно. Поэтому после покупки мотоцикла масло и фильтр
ОБЯЗАТЕЛЬНО надо сменить. А лучше это совместить с промывкой мотора.
Спросите в отделе автохимии промывку типа "стокилометровка". Это
когда промывка добавляется в старое масло за 100-150 км до замены
масла, а потом сливается вместе с ним. От "пятиминутки" она
отличается тем, что базой, в которой растворены моющие и
растворяющие смолы присадки, является не керосин (как в
"пятиминутке"), а масло. Она моет дольше, качественнее, и с меньшим
вредом для мотора. Когда будете сливать старое масло (обязательно на
прогретом моторе), не спешите. Дайте ему качественно стечь и из
сливной пробки, и из крепления маслофильтра. Пока масло стекает -
займитесь чем нибудь длительно-полезным, типа прокачки тормозов.
Мотоцикл также полезно понаклонять в разные стороны чтобы масло
вытекло из труднодоступных мест типа головки цилиндров или
маслорадиатора. Перед заливом нового масла не забудьте закрутить
сливную пробку и новый фильтр :) Какое масло использовать и как
часто менять - решать вам. Я бы предостерег от использования
автомасел на мотоциклах со сцеплением в масляной ванне, и от литья
дешевой минералки в форсированные моторы. Не экономьте на крови для
сердца вашего коня.
Воздушный фильтр по
уму тоже было бы неплохо заменить. Если он моющийся, то помыть
теплой водой с фэри и высушить естественным путём (без продувки
компрессором и сушки строительным феном). После смазать его маслом
для воздушных фильтров из аэрозольного баллона, или кисточкой если
масло просто в бутылке. Если фильтр одноразовый - пылесосить или
мыть его бесполезно. Меняйте. Настроить карбюраторы на ровную работу
с грязным фильтром и старыми свечами практически невозможно
Свечи лучше купить
новые. И менять каждое ТО. Свечи ищутся на любой мотоцикл легко, и
стоят не так дорого, чтобы на них экономить. Лучше менять обычные
дешевые свечи каждые 6-10 тысяч километров пробега, чем купить
дорогие иридиевые, в надежде что они прослужат 30000. В этой стране
так не бывает. Или на этилированный бензин нарвётесь, или присадками
свечи убъете.
Если после замены
фильтра и свечей мотоцикл на холостых оборотах работает рывками -
придётся промывать карбюраторы, смотреть не намудрил ли предыдущий
хозяин с жиклёрами и иглами, не текут ли запорные клапана итд. После
полной ревизии карбюраторов если рывки не прошли, то не грех сделать
синхронизацию. Плавная работа на холостых оборотах продляет срок
службы моторной цепи.
Масло в вилке менять
обязательно. С вероятностью 95% этого до вас никто не делал, а если
кто и делал, то потому, что после аварии перья выправлял или
сальники потёкшие менял. Масло в вилке менять надо каждую зиму
обязательно (при небольших пробегах (до 5000км в год) - раз в 2
года). Достаточно один раз посмтотреть ЧТО оттуда сливается, чтобы
понять что это не блажь.
Тормоза на купленном
мотоцикле прокачать обязательно, желательно со съемом суппортов, и
проверкой, нет ли окисла на поршнях, и не подклинивают ли они при
ходе туда-сюда. Заодно увидите состояние тормозных колодок. Сливать
старую тормозуху не надо - напустите воздуха в систему и будете на
него весь день охотиться. Прокачивайте (постоянно подливая свежую
тормозуху, чтобы не нагнать воздуха в систему сверху) до тех пор,
пока из штуцера не пойдёт свежая прозрачная без пузырьков). Если
рукой чевствуете как "дуются" резиновые шланги при нажатии на рычаг
тормоза, подумайте об их замане на армированные. Одна из самых
бюджетных и ощутимых в эксплуатации операций по тюнингу.
Если у вас конь
карданный, то замените масло в заднем мосту; если цепной, то не
поленитесь снять крышку передней звезды и посмотреть на состояние
этой звездочки. Возможно, перед продажей свежую цепь поставить не
поленились (она на виду и на цену мотоцикла влияет), а вот звезду
поменять уже сложнее и дороже, и в "предрпродажную подготовку" эта
операция как правило не входит. А передняя звезда служит столько же,
сколько и цепь. И если на старую звезду да новую цепь - то цепь
(которая стоит как 7-9 таких звезд) умрёт вдвое быстрее.
Систему охлаждения
промыть тоже не мешало бы. Для этого понадобится моющая добавка в
старую жижу (добавляется одновременно с моющей масляной, но в другое
заливное отверстие), и новый антифриз
Если валы ГРМ
приводятся ремнями, то обязательно проверьте их состояние (ремней),
если цепью - послушайте, не грохочет ли эта цепочка. Если грохот
есть - требуется небольшое вмешательство в натяжитель. Как правило
его разборка, промывка, смазка и регулировка приносят ощутимые на
слух результаты. Не помогло - меняйте натяжитель. Ибо пропилы на
блоке от цепи или перескок несколькиз зубъев могут обойтись дороже.
Всё что должно
шевелиться (типа подножек, замков сидения, рычагов на руле, лапок
переключения скоростей итд) смажьте в местах шевеления консистентной
смазкой. Не будет скрипеть, ржаветь и будет шевелиться с меньшими
усилиями.
Осталось только
проверить работоспособность всех лампочек и заменить лампы в фарах.
Ибо они с годами тускнеют. Не ведитесь на лампы повышенной мощности
(типа 90/100 ватт "ралли"), лучше купите брендовые лампы стандартной
мощности 55/60 ватт, но с увеличенной (+20 +30% или +50%)
светоотдачей. И аккумулятор будет всегда заряжен, и стекло фары не
треснет от перегрева, и светить будет не хуже)
И последнее - перед
выездом зарядите аккумулятор. Как правило на самом аккумуляторе
указан ток и время зарядки на корпусе. Если есть время - выберите
более длительный вариант малым током. Не оживёт - меняйте.
Расталкивать в одиночку даже 750 кубовую четверку очень сложно.
Теперь давайте
прикинем во что это выльется только по расходникам и материалам (на
примере CBR1100xx, но цены рознятся не сильно)
- "Промывка масляной системы" 4$
- Масло моторное синтетика 4 л 40$
- Фильтр масляный 8$
- Фильтр воздушный DELO 20$
- Жидкость тормозная 0,5л 6$
- Масло вилочное 100% синтетика 20$
- Свечи 4 шт 36$
- "Промывка системы охлаждения" 4$
- Антифриз 4л 7$
- Цепная смазка, консистентная смазка, очиститель тормозных
механизмов, керосин, щетки, тряпки, проникающая смазка, удалитель
битумных пятен, очиститель контактов, итд - по вкусу.
Итого минимум 140
долларов только за материалы. А ведь могут всплыть еще колодки
тормозные (25$ на один суппорт), подшипники рулевой колонки (40$),
передняя (15$) и задняя (25$) звезды, цепь (100$), подшипники ступиц
колёс, игольчатые подшипники и втулки рычагов задней подвески),
подшипники маятника, тормозные диски, гнутые перья, текущие сальники
вилки, мёртвый зажний амортизатор и т.д. Но всё перечисленное после
слов "по вкусу" относится скорее к советам "на что смотреть при
выборе мотоцикла и чем аргументировать снижение цены".
Вывод? Вывод простой.
Не покупайте мотоцикл на последние деньги. Оставьте не только на
экипировку и защиту, но и на содержание самого мотоцикла. Зато
выполнив после покупки полное ТО и диагностику можете смело обнулять
одометр и проходить ТО и регламентные работы по графику нового
мотоцикла :)
Источник:
http://www.motoservice.ru/firstto.html
Смена масла в двигателе
Как
правило, масло в моторах спортбайков нужно менять один раз на
каждые 6000 километров пробега или один раз в год, во время
подготовки к зимнему хранению. Менять нужно перед зимовкой для
того, чтобы за зиму на внутрениих поверхностях двигателя не
образовывался осадок из того мусора, который смешан с
отработавшим маслом. По регламенту технического обслуживания
Suzuki GSX-R 1000 маслянный фильтр нужно менять один раз на две
смены масла, т.е. каждые 12000 километров пробега. Для этого
понадобится или специальный ключ для маслянных фильтров Suzuki
или универсальный ключ с ремнем, показанный на рисунке.
Перед сменой масла можно
добавить в старое масло какой-нибудь разжижитель масла и дать
мотору поработать 10-15 минут на холостых оборотах. Эта
процедура очистит внутренние поверхности двигателя, однако вся
глязь осядет в фильтре, поэтому его прийдется обязательно
менять.
Сама процедура смены масла
очень несложная. Вывешиваем заднее колесо на подставке,
откручиваем заливную пробку, потом сливную пробку в картере и
ждем, пока масло стечет в подставленную емкость. После этого
откручиваем маслофильтр, ждем пока масло стечет и оттуда. Далее,
можно пару раз прокрутить двигатель стартером, и подождать
немного снова. Затем закручиваем сливной винт, но без фанатизма
с усилием, чтобы не повредить резьбу. Берем новый маслофильтр,
смачиваем уплотнительное кольцо и резьбу маслом (осторожно, она
острая) и накручиваем рукой. После того как рукой провернуть его
становится невозможно, затягиваем ключом для маслофильтров еще
где-то на половину оборота.
Заливаем масло, столько,
сколько указано в руководстве по эксплуатации конкретного
мотоцикла. Для GSX-R 1000 это 3 литра без замены фильтра, 3.2
литра с заменой и 3.6 литра с просушкой мотора (полный слив
масла). После заливки трех литров масла нужно дать двигателю
немного поработать, потом подождать 2-3 минуты и проверить
уровень масла в контрольном окошке. При необходимости - долить и
повторить процедуру.
Все, теперь можно
переходить к замене масла в рулевом демфере (последнее фото).
Замечу, что снимать пластик для смены масла на GSX-R 1000 K4 не
обязательно, но без пластика менять маслофильтр немного удобнее.
Источник:
http://moto.swissblog.ru/smena-masla-v-dvigatele.html
Выбор, маркировка и замена масла на мото-технике
Выбор и замена масла - хорошая
статья, взятая из Энциклопедии Мотоциклиста. В статье проводится
сравнение класификаций масел API и ГОСТ. Разьяснение по
маркировкам масел. И еще много интересного и необходимого
каждому мотоциклисту. В конце - краткая инструкция по замене
масла на четырехтактном скутере.
Да, по поводу масел для мотоциклов и
мототехники, споры, никогда не утихают. И это странно, потому
что вроде бы никаких сложностей в этой проблеме нет. Давайте в
этом убедимся. Вначале немного общих сведений.
Минеральные масла получили свое название
потому, что получали их из нефти (минерального сырья) методом
прямой перегонки. Этот метод применяется и сейчас — вот только
полученная с его помощью продукция никого уже не устраивает.
Главный недостаток минерального масла большая зависимость
вязкости от температуры. В связи с этим минеральные масла в
чистом виде уже не применяются, но используются в качестве
основы. К маловязким основам добавляются целые пакеты различных
присадок. Присадки для увеличения густоты масла, вводятся для
создания надежной масляной пленки, не разрушающейся при высоких
температурах. Антикоррозионные присадки, как следует из
названия, должны предотвращать коррозию деталей двигателя.
Анти-окислительные помогают сохранять свойства масла, уберегая
его от окисления и старения. Моющие обеспечивают чистоту
двигателя, растворяют смолистые отложения. Также существуют
противоизносные присадки и, к примеру, антипенные.
Как видите, хорошее масло уже содержит в своем
составе все необходимые компоненты, и добавлять в него больше
ничего не надо. Вот только как определить, что масло
действительно хорошее?
Принято различать четыре группы масел: для
карбюраторных двигателей легковых автомобилей и мотоциклов, для
дизельных двигателей легковых автомобилей, для дизельных
двигателей грузовиков и для двухтактных двигателей. Мало этого:
масла для бензиновых двигателей в свою очередь подразделяются на
группы в зависимости от степени форсированности двигателя.
В мире существует немало разного рода
классификаций. Мы не будем рассматривать их все, чтобы
окончательно вас не запутать. Отбросим сразу и масла для
дизельных двигателей, тем более для грузовиков с такими
моторами. В результате оставим только две интересующие нас
(наиболее применяемые) классификации: API и ГОСТ. И только два
типа масел: для бензиновых четырехтактных и бензиновых
двухтактных двигателей мотоциклов. Итак, по классификации API
(Американский институт нефти) моторные масла в зависимости от
степени форсированности двигателей делятся на семь групп и имеют
соответственно обозначения SC, SD, SE, SF, SG, SH и SJ.
Свойства масел улучшаются справа налево. Если,
например, масло класса SC предназначено для низко-форсированных
двигателей с максимальным числом оборотов не выше 4000, то масло
класса SJ пригодно для самых современных моторов со впрыском
топлива. Очень важная характеристика — классификация моторных
масел по вязкости, введенная Обществом автомобильных инженеров
США (SAE). Эта характеристика давно привычна большинству - SAE
10W40; SAE 0W30 и т.д. Наиболее распространенные масла этого
ряда считаются всесезонными, поскольку обеспечивают пуск
двигателя при достаточно низких температурах и его надежную
работу летом, в жару. Например, масло SAE 0W30 работает в
диапазоне температур от -40 °С до +300 °С; для SAE 5W40
нормальный температурный диапазон от -25 °С до +400 С; а масло
SAE50 предназначено для тропиков, оно работает в диапазоне от 0
до +50 °С.
Отечественная классификация по ГОСТ (ГОСТ
17479-72) делит моторные масла на 4 группы: Б, В, Г и Д в
зависимости от того, для двигателей какой степени форсировки они
предназначены. Масла группы Б1 — это аналог масел SC-SD по
классификации API; В1 и Г1 соответствуют маслам SE и SF; Д1,
соответственно, маслам SF-SJ. (Индекс 1 в системе обозначений
ГОСТ показывает, что масло предназначено для бензиновых
двигателей). Чтобы Вам было легче разобраться во взаимосвязях
классификаций, приведем пару простеньких табличек.
| Соответствие классов вязкости
моторных масел по классификациям SAE и ГОСТ |
| Класс вязкости по SAE
|
10W |
20W |
30 |
40 |
50 |
| Класс вязкости по ГОСТ |
6 |
6-8 |
10-12 |
14-16 |
20 |
| Соотношение применяемости
моторных масел по классификации API и ГОСТ |
|
API
|
SE
|
SD
|
SE
|
SF
|
SG
|
SH
|
SJ
|
|
ГОСТ
|
51
|
|
В1
|
Г1
|
Д1
|
|
Для двухтактных двигателей долгое время
применялись те же масла, что и для четырехтактных, и это
создавало массу проблем. Ведь кроме обычных функций — снижения
интенсивности износа деталей и предотвращения коррозии, — масло
для «двухтактника» должно обладать способностью создавать
прочную пленку, устойчивую против высоких температур и нагрузок;
не вызывать отложений лаков и нагара, приводящих к
закоксовыванию поршневых колец и замыканию электродов свечей
зажигания; не создавать токсичных компонентов в продуктах
сгорания — и при этом отлично смешиваться с бензином, образуя
стабильную смесь длительного хранения. Как это ни покажется
странным, но в старых тихоходных двухтактных моторах неплохо
работало простейшее минеральное базовое масло. Даже в 60—70-е
годы мы еще пользовались авиационным маслом МС-20, и это было
лучшее, что мы могли предложить нашим любимым мотоциклах ИЖ и
Ява. Достаточно сказать, что это масло давало в 2 раза меньше
отложений в выпускном окне, чем стандартное автомобильное масло
того времени М8А. В последние годы несколько нефтехимических
заводов начали одновременно выпуск специальных масел для
двухтактных двигателей. Поступают такие масла на российский
рынок и от зарубежных производителей. Эти масла представляют
сложные составы из многих компонентов, в том числе беззольных
или малозольных присадок.
Кстати, зольность — один из важнейших
параметров, определяющих класс масла, ведь именно от этого
показателя зависит количество отложений на головке поршня,
головке цилиндра и в выпускных окнах. В материалах,
опубликованных в различных журналах, показаны характеристики как
отечественных, так и зарубежных масел.
Причем не только специальных двухтактных, но
и, что особенно интересно, стандартных отечественных
автомобильных моторных. Из этих материалов видно, что
двухтактные масла превосходят автомобильные моторные буквально
по всем показателям. И не на проценты, а в разы! Чего стоит одна
зольность: у масла М12ТП она 0,28%, а у «жигулевского» М6з/10Г1
— 1,3%. И в то же время для нормальной эксплуатации двухтактного
двигателя требуется только 2% (от количества топлива) масла
М12ТП против 4% М6з/10Г1. Нужно ли еще что-то к этому добавлять?
За рубежом принято различать четыре класса масел для двухтактных
двигателей. В соответствии с этой классификацией отечественные
масла М12ТП и МГД 14М могут быть отнесены к классу ТВ. А это
значит, что их нельзя рекомендовать для применения в
высоко-оборотистых двигателях средних и высоких кубатур, где
требуются масла класса ТС. Увы — у нас таких пока нет. И вот еще
что интересно. При добавлении в бензин обычного автомобильного
масла в количестве 4—5% октановое число бензина уменьшается на
1,5 единицы, а теплота сгорания — на 800—9000 кДж/кг! Если же мы
добавляем в бензин «двухтактное» масло, теплота сгорания вообще
не снижается, а октановое число уменьшается всего на 0,3
единицы.
Небольшая заметка о том, как и когда
следует проводить замену масла в скутерах. (на примере типичного
четырехтактника)
Когда производить замену?
Первый раз - после 500 км пробега, далее
каждую 1000. Также рекомендуется заменить масло после проведения
работ с цилиндром: замена цилиндра, снятие головки цилиндра и
пр., так как при проведении этих работ, даже если все делалось
аккуратно, существует вероятность попадания грязи и частичек
металла в двигатель.
Потребуется - ключ с головкой (скорее всего
на 19)
Замену масла нужно проводить при прогретом
моторе - так масло становится более текучим, и грязь, если она
есть, поднимается со дна картера, смешиваясь с маслом.
Необходимо поставить скутер на центральную подножку.
Для начала порядок проведения работ:
- Открутить пробку заливной горловины (ЩУП), находится с правой
стороны двигателя, рядом с генератором.
Подставить под сливное отверстие емкость (около 1 литра) для
слива отработанного масла и против часовой стрелки открутить
сливную пробку.
Для откручивания использовать только
головку - рожковым ключом можно повредить сливную пробку,
которая изготовлена из алюминия. Под пробкой находятся пружина и
масляный фильтр - сеточка.
- Слить масло.
- Промыть пробку сливного отверстия и фильтр в бензине.
- Закрутить и затянуть пробку сливного отверстия. Не
перестарайтесь - помните, что пробка и картер двигателя
изготовлены из алюминия. При приложении чрезмерного усилия можно
повредить резьбу.
- Залить в мотор через заливную горловину 800 мл моторного
масла, используя подходящую воронку.
- Закрутить пробку заливной горловины.
Готово.
Какое масло заливать? В двигатель четырехтактного скутера заливается масло с вязкостью
15W40 или 10W40. То, какое масло заливать (синтетическое или
минеральное), а также марку (фирму производителя) масла
выбирайте сами, посмотрите в инструкции по эксплуатации вашего
скутера или в сервисный центр. На рынке присутствует широкий
выбор масел от различных производителей. Учитывая то, что скутер
требует не так уж и много масла, можно не экономить и приобрести
один из дорогих сортов масла. Также существуют масла, специально
разработанные для четырехтактных двигателей скутеров.
Необходимо регулярно контролировать уровень масла и доливать при
необходимости.
Смазка цепи мотоцикла
Цепь
мотоцикла нужно периодически смазывать специальной смазкой для цепи.
Делать это нужно для того, чтобы:
1) элементы цепи не ржавели
2) цепь и звездочки меньше изнашивались
3) снизить потери крутящего момента при его передаче с мотора на
колесо
Периодичность смазки цепи зависит от условий ее
эксплуатации, качества смазки и погоды. Обычно рекомендуют смазывать
цепь каждые 500 … 1000 километров пробега и после езды во время
дождя. Определяется, что цепь пора смазывать, достаточно просто -
если посередине валики цепи сверкают чистым металлом, то давно пора.
Это обычная ситуация после езды во время сильного дождя, когда на
асфальте много воды. Рассмотрим, чего мы добиваемся смазкой цепи.
Сразу
оговорюсь, что все сказанное дальше, относится к современным
мотоциклетным цепям. Каждая цепь уже содержит заводскую смазку в
уплотнительных кольцах, которые находятся в местах соединения
звеньев цепи. Эта смазка работает там на протяжении всего срока
эксплуатации цепи. Если ее вымыть оттуда или как-то повредить
уплотнительные кольца, например почистив цепь бензином, то цепь в
скором времени можно будет выбрасывать. Все различия в цепях типа
O-Ring, X-Ring заключается именно в разной форме этих уплотнительных
колец. Фирма DID утверждает, что лучше чем X-Ring ничего в природе
не существует. Думаю, что пока они делают одни из лучших цепей для
супербайков, им можно верить.
Нанося смазку и балончика, мы смазываем только
внешние части цепи, включая валики посередине. Хорошо смазанная цепь
не перегревается от трения и обеспечивает более долгую жизнь
звездочкам.
Перед
смазкой цепи будет не лишним ее помыть. Это позводит удалить песок и
остатки старой смазки. Делается это при помощи специальных чистящих
баллончиков или же просто дизельным топливом и щеткой. Бензином
чистить НЕЛЬЗЯ, это может привести к порче резиновых уплотнители и
быстрому износу цепи.
Для того, чтобы было удобно крутить колесо, лучше
всего использовать специальный подъемник, чтобы вывесить заднее
колесо в воздух. Если такого нет, то проводить чистку цепи нужно
вдвоем: один держит мотоцикл, упираясь ногой в боковую подножку,
другой моет цепь. Счасливые обладатели мотоциклов с центральной
подножкой используют ее, и не заморачиваются подобными проблемами.
После
очистки цепи, ее нужно смазать. Не забываем, что смазывать нужно
горячую цепь, поэтому прийдется проехать пару километров, заодно
будет шанс почуствовать как плохо ездить с цепью, на которой нет ни
грамма смазки.
Смазывается цепь специальной
смазкой или трансмиссионным маслом. В крайнем случае можно также
использовать обычное машинное, но оно очень плохо держится на цепи,
поэтому это вариант проехать 100 километров после дождя, не более
того.
Специальные
смазки для мотоцепей держатся достаточно долго, поэтому лучше
использовать их.
Опять же, делать это удобнее на специальной
подставке или центральной подножке. Но если нужно срочно смазать
цепь, а вокруг нет признаков цивилизации, то можно справиться и
самому, приподняв мотоцикл на боковой подножке. После нанесения
смазки из баллончика, нужно подождать минут 10-15 пока смазка
загустеет.
Источник:
http://moto.swissblog.ru/smazka-tsepi-mototsikla.html
Замена тормозной
жидкости
Я
не буду рассказывать, как наиболее эффективно и с минимумом затрат
поменять тормозную жидкость. Так же не будет затронут вопрос, как
хорошо прокачать тормоза, если есть проблема с воздухом где-то поршнях
тормозных саппортов. Сосредоточимся на скорости и простоте выполнения
замены тормозной жидкости, при условии, что тормоза мотоцикла
находятся в прекрасном состоянии - прокачаны и не требуют очистки от
пыли.
Как известно, тормозная жидкость гигроскопична, поэтому постепенно
тянет влагу из воздуха и ее периодически нужно менять. Тормозная
жидкость у меня была не старая, но срочно понадобиласть, чтобы
очистить несколько болтов от ржавчины. Поэтому, вместо того, чтобы
заливать железки свежей DOT 5.1, возникло желание слить для этих целей
старую DOT 4.
Для
быстрой смены тормозной жидкости понадобится специальная пластиковая
банка с двумя трубками и клапаном. Клапан, который пропускает жидкость
только в одном направлении, нужен для препятствия попадания воздуха в
тормозную систему. Если вспомнить физику, то можно обойтись и длинной
резиновой трубкой, свободный конец которой будет поднят выше
расширительного бачка, но с клапаном все становится значительно
удобнее. Откручиваем расширительный бачек с тормозной жидкостью и, при
помощи сжатия пластиковой банки и трубки без клапана, вытягиваем из
расширительного бачка всю жидкость. Затем заливаем полный бачек свежей
тормозной жидкости. Присоединяем трубку с клапаном с сливному вентилю
на тормозном саппорте (он же суппорт или caliper, если выражаться
по-английски грамотно), вешаем банку на руль и откручиваем гайку на
вентиле на полоборота.
Если
лень прокачивать оба калипера, то лучше прокачать тот, что крепится к
тормозным шлангам дальше - больше жидкости обновится. Ну, а жидкость в
оставшемся постепенно смешается с новой из-за диффузии, вызванной
тепловым движением молекул. Очень резкими нажатиями, почти ударами на
ручку тормоза прокачиваем тормоза до тех пор, пока в трубке не станет
заметно пузырьков воздуха - мне для этого пришлось долить тормозной
жидкости в расширительный бачек еще раз. Вставляем резинку обратно в
расширительный бачек, нажатием ручки тормоза доводим уровень жидкости
до отметки MAX. Закручиваем крышку расширительного бачка и сливной
вентиль на тормозном калипере.
Все, теперь можно использовать тормозную жидкость для
очистки старых болтов от ржавчины. Эта жидкость настолько химически
активна, что лучше ее немедленно удалять с любых окрашенных или
отполированных поверхностей мотоцикла, если она попала туда случайно в
процессе ее замены.
Источник:
http://moto.swissblog.ru/zamena-tormoznoy-zhidkosti.html
Ремонт и прокачка тормозной
системы мотоцикла
Производители мотоциклов и
производители тормозных жидкостей рекомендуют производить
замену тормозной жидкости в тормозной системе мотоцикла
раз в два года. Не будем вдаваться в подробности и проводить
урок химии, отметим кратко, причина по которой требуется замена
тормозной жидкости проста - тормозная жидкость гигроскопична
т.е. втягивает в себя влагу, что приводит к изменению свойств
т.жидкости, тормоза мотоцикла становятся мягкими, не
предсказуемыми и т.д. Для мотоциклиста
исправная тормозная система мотоцикла равна
жизни.

Для проведения процедуры замены
тормозной жидкости в тормозной системе
мотоцикла нужны шланги (подойдут от капельницы или
резиновые шланги не большого сечения), рожковый ключ на 10/12,
отвертка, литровая стеклянная банка и флакон новой тормозной
жидкости.
Как правило на современных мотоциклах
производства Японии, используется тормозная жидкость - ДОТ4
(DOT 4), в тормозной системе вашего мотоцикла,
возможно залита тормозная жидкость другого типа (ДОТ 3 - DOT 3).
Определить тип необходимой тормозной жидкости, достаточно
просто, обратите внимание на надпись на расширительном бачке для
тормозной жидкости (на переднем контуре тормозов, возле ручки
газа обычно расположен расширительный резервуар), так же тип
тормозной жидкости указывают на самих тормозных шлангах
мотоциклов.
Производить замену старой тормозной жидкости на
новую, начинаем с переднего контура тормозов мотоцикла.
Наливаем в стеклянную банку 1-2 см чистой тормозной жидкости. С
расширительного бачка снимаем крышку. На штуцер одеваем трубку,
другой конец трубки опускаем в банку, так, чтобы конец трубки
был утоплен в тормозной жидкости. Теперь путем сокращения
рычага переднего тормоза мотоцикла выгоняем старую
тормозную жидкость в стеклянную банку, подливая в расширительный
бачек новую тормозную жидкость.
После того, как мутная старая тормозная жидкость
перестанет выходить и из системы перестанет выходить воздух
(пузырьки воздуха будет отчетливо, когда они будут проходить по
прозрачной трубке), после этого можете закручивать штуцер (не
перетяните, метал мягкий и перетянуть штуцер довольно просто).
Закрываем крышку расширительного бачка.
Процедура прокачки заднего контура тормозов мотоцикла
точно такая же.
Прокачка комбинированной системы
тормозов мотоцикла, которая например установлена на
мотоцикле Honda VFR 800 Fi производится
аналогичным методом, для более быстрой процедуры можно
одновременно открыть два штуцера (конечно трубки нужно
подсоединить и опустить противоположные концы шланга в тормозную
жидкость, это необходимо, чтобы не завоздушить систему.
Так же для более быстрой процедуры прокачки
тормозов, мы рекомендуем приобрести не дорогой инструмент.
инструмент для прокачки
тормозной системы мотоцикла
|
 |
еще одно приспособление для
прокачки тормознйо системы мотоцикла, более дешевое устройство
|
 |
Источник:
http://moto.swissblog.ru/remont-tormozov-sportbayka-suzuki-gsx-r-1000.html
Антифриз, его замена и смешивание
Антифриз - это нечто, залитое
в систему охлаждения двигателя, и основная задача этой жидкости -
отвести тепло двигателя в радиатор, где охлаждающая жидкость
остынет под действием набегающего потока воздуха. Обычная
дистилированная вода, залитая в радиатор, имеет несколько
недостатков, а именно: кипит при температуре чуть более 100
градусов (из-за повышенного давления), не защищает систему
охлаждения от коррозии и замерзает при отрицательной температуре
воздуха, что грозит многочисленными бедами, так как вода при
замерзании расширяется в объеме и может разорвать радиатор.
Поэтому стали применять
другие жидкости, на основе гликоля (та же основа, что и для многих
тормозных жидкостей). Проблема заключалась только в том, что
гликоль вызывает сильную коррозию там, где соприкасаются
электрохимические пары металлов, например медь и сталь. Поэтому в
антифриз на основе гликоля добавляют различные антикоррозионные
присадки.
При замене антифриза все эти
тонкости нас не интересуют. Нам нужно промыть систему охлаждения
дистилированной водой, в случае, если мы меняем производителя
антифриза, разбавить купленный концентрат дистилированной водой в
соответствии с инструкцией (обычно это 50% на 50% для получения
смеси, которая замерзает при -40 градусах), залить все это в
радиатор и прокачать жидкость в охлаждающей системе, чтобы
избавиться от возможных воздушных пробок. Разбавлять концентрат
водой необходимо, так как во-первых концентрация чистого антифриза
выше 50% не имеет смысла в том плане, что антикоррозионные
свойства получаются ничуть не лучше, во-вторых чистый антифриз
имеет меньшую теплоемкость и будет не так эффективно, как это
нужно, охлаждать двигатель в условиях очень жаркой погоды.
И теперь про смешивание
антифризов. Сейчас наиболее распросранены жидкости стандарта G11.
Их основа - жидкости со страшными названиями типа
моно-этилен-гликоль или менее токсичный моно-пропилен-гликоль.
Цвет этих жидкостей обычно зеленый, синий или желтый. Подобные
антифризы содержат фосфаты, нитраты и силикаты в качестве
антикоррозионных и смазочных добавок. При смешивании различных
антифризов стандарта G11 все зависит от концентрации этих присадок
и, как правило, при концентрации добавок менее 250 ppm (милиграмм
на килограмм) проблем при смешивании не возникает. Раньше, когда
концентрация присадок доходила до 1000 ppm и выше, при смешивании
разных антифризов в итоге могло получаться отличное разноцветное
желе.
Что же делать, если нужно
долить антифриз без его замены и с минимальным риском выпадания
осадка в радиаторе? Если этот вопрос возник летом, то однозначный
ответ - нужно просто долить дистилированную воду. Зимой лучше
всего купить антифриз стандарта G12 или G12+. Это жидкости, цвета
которых могут варьироваться от желтого до красного цвета. Но
вообще полагаться на цвет антифриза нельзя, нужно всегда смотреть
на маркировку. Антифризы стандарта G12 могут без опасений
смешиваться друг с сдругом (антифризы разных производителей) и с
антифризами стандарта G11 (независимо от концентрации в них
присадок). В общем ярко-красный антифриз G12+ можно смешивать с
чем угодно (но перед этим убедиться, что это действительно G12+, а
не просто красные чернила).
Источник:
http://moto.swissblog.ru/antifriz-ego-zamena-i-smeshivanie.html
Ремонт вилки мотоцикла
замена сальников и пыльников
Сегодня
мы поговорим о разборе и ремонте "потекшей" вилки, правильной
замене сальников и пыльников на вилке мотоцикла.
Обычно перед тем, как сальники на вилке начинают пропускать масло,
перо начинает "потеть" т.е. оставлять малозаметные частички масла
на которые при движении попадает пыль. После того как перо начало
"потеть" примерно через 1-2 месяца вилка начинает пропускать
масло.
Течь масла опасна не только отсутствием и/или снижением
амортизационных свойств, наиболее опасен тот факт что вытекшее
масло попадает прямиком на тормозные колодки переднего контура
тормозов, что само по себе уже крайне опасно.
Сальники обычно портятся либо от возраста (нагрузок), от того, что
пыльник начинает пропускать грязь, воду, сальник в таком случае
начинает просто "гнить", по этому крайне желательно
растрескавшиеся и совсем "деревянные" пыльники заменить на новые,
однако не на все мотоциклы можно найти пыльники, например на
старые модели пыльников уже не найти т.к. их просто уже не
выпускают.
Многие умельцы, размачивают старые сальники в
керосине пару суток и устанавливают на место, так обычно поступают
в мотосервисах (иногда оставляют себе новые сальники, ваши, а
старые размачивают и устанавливают
)
или в "конторах" которые привозят подержанные мотоциклы так же
поступают, перед продажей мотоциклетная вилка проходит "ремонт",
такие "разбухшие" сальники могут продержаться от 1 месяца до
полугода, в зависимости от состояния сальников до их реанимации,
однако желательно при первых же симптомах "сопливости" вилки,
сразу заменить хотя бы сальники.
Ремонт вилки мотоцикла. Установка сальников и
замена пыльников. Стаканы и перья.
На ниже приведенном фото проведена аналогия
слэнговых выражений непосредственно к деталям мотоцикла.

В принципе разборку вилки и по следующую замену
вилки осуществить не сложно. Однако первый раз проблематично. Ниже
приведу набор инструментов и комплектующих которые необходимы в
процессе ремонта, а так же для его успешного завершения.
Инструменты и комплектующие.
-
Сменные сальники и пыльники схожего диаметра,
высоты и ширины.
-
Набор ключей "рожковых" и насадки "трещотки",
лучше если будет еще и удлинитель.
-
Набор 6-ти гранников
-
Тряпки разные разнообразные
-
Тара под старое масло
-
Пластиковая труба (ниже опишу зачем)
-
Лучше иметь схему самой вилки на бумаге, у кого
есть мануал тем всегда проще.
-
Масло вилочное (специальное, обычное моторное не
подойдет), вязкость и количество нужно смотреть по сервис книге
для мотоцикла. Если таковой нет, можете спросить у нас на
мотоциклетном форуме
Мотоцикл нужно будем вывесить, проще всего это
сделать так:
Снимается весь пластик, если он есть, под нижние трубы
подкладывается квадратное полено, возможно и не одно, сверху
полена кладем мягкой ткани много, чуть дальше по движению труб
подставляем домкрат на него опять же кладем доску на доску ветошь,
начинаем поднимать мотоцикл, помощник должен придерживать мотоцикл
чтобы при поднятии тот не завалился на бок. После того как
мотоцикл приподнят так, чтобы переднее колесо прокручивалось,
подставляем наши полена и аккуратно опускаем мотоцикл на трубы.
нужно чтобы переднее колесо прокручивалось.
примерно вот так
|
 |
Разборку я обычно начинаю с того, что приотпускаю
на каждом пере верхние пробки. Отпускать пробку нужно лишь
немного, не нужно полностью выкручивать, как только пробка
повернулась перестаем крутить. Теперь 6-гранным ключом снизу
стакана находим отверстие, там болт, так же аккуратно откручиваем
его до проворота но не выкручиваем!
Нормальное состояние пыльников
на вилке мотоцикла
|
 |
Теперь отпускаем все болты и снимаем все, что
"навешано" на вилку, начинаем ослаблять болты на траверсе и затем
снимаем тормозные машинки. Так как колесо у нас уже вывешено,
отпускаем ось на переднем колесе.. вытаскиваем ось и выкатываем
колесо из вилки. Затем полностью демонтируем одно перо за другим.
Разборка и ремонт вилки (передних амортизаторов)
мотоцикла

Как писалось выше нужно было заранее приотпустить
нижний болт, теперь полностью его выкручиваем и сливаем масло,
масло можно слить и через сливной болт сбоку вилки, нужно
учитывать, что масло может брызнуть. Теперь переходим к верхней
части пера, тут тоже нужна аккуратность, пружина находится немного
в сжатом положении поэтому может "выстрелить", мы подставляли
пустую коробку и напротив нее откручивали крышку пера. Если
пружина выстреливала то она летела в ящик.
После того, как пробка выкручена (рис 1),
вытаскиваем проставку (рис 2), за проставкой будет шайба (рис 3),
за шайбой пружина (рис 5), затем длинная ось на конце может быть
маленькая пружина (рис 6). Теперь нужно до сливать оставшееся
масло, через перо а не через сливной болт. Теперь стягиваем
пыльник, под пыльником стопорное кольцо (из проволоки стальной).
Рис.
1 Рис.
2 Рис.
3
Рис. 5 Рис.
6 Рис
7.
Теперь взявшись за верхнюю часть пера и за верхнюю
часть стакана резкими движениями выдергиваем перо из стакана.
Смотрим ниже фотографию. Справа на лево. Сальник,
стопорное кольцо проставка-шайба из меди, внизу буш-слайдер (если
поврежден и сильно исцарапан нужно менять). Теперь лучше вымыть и
высушить и перо и стакан.

Нужно
оговорится, что мы рассматриваем разборку вилки для
мотоцикла Honda VFR 400 NC30, но на множестве других
мотоциклетных вилок например на Honda VFR 400 NC24,
внутри стакана, под проставкой и пружиной, длинная ось имеет
грани (пазы) и если пытаться открутить болт снизу стакана (6
гранный) то сама "ось" будет поворачиваться, болт снизу стакана
чуть открутится и будет просто на холостую вращаться, вытащить
ось не удастся. Для того, чтобы выкрутить ось и затем выбить
старые сальники, необходимо зафиксировать ось, путем установки в
пазы оси т.е. через все перо внутри продеть и установить пруток
с гайкой в пазы оси - пруток на который нужно наварить гайку
схожего диаметра, диаметр разный, нужно методом подбора
определять. Думаю не особо понятно написал, но когда вы начнете
разборку и посветите фонарем внутрь пера вы увидите грани на
оси. Но как писалось ранее возможно в вашей вилке, как и в
вилке Honda VFR 400 NC30, достаточно выкрутить
нижний болт 6-гранный и ось можно будет вытащить, следом выбить
сальники, если болт внизу - 6-гранный до опред.
времени будет выкручиваться, а потом будет прокручиваться на
месте то скорее всего на оси есть грани и ось нужно фиксировать.
Сборка начинается в обратом порядке. Перед усадкой
нового сальника, его следует облить внутри и снаружи маслом. Чтобы
усадить новые сальнкии на место, нужно его туда "загнать".. руками
этого не сделать. хотя направить сальник нужно именно руками.
Далее, нам и нужна пластиковая труба из строй магазина, надрезаем
эту пластиковую трубу снизу на 5-10 см и сгибаем ее относительно
диаметра пера, затем подставляя сверху доску лупим по ней, пока
сальник не сядет на место, сильно но аккуратно. Сальник должен
сесть на такой уровень, чтобы стопорное колечко из проволоки зашло
спокойно в паз. Многие усаживают сальник новый путем наложения
старого и постукивая по старому.. но так намного проблематичнее
усадить сальник, пластиковая труба - просто находка
.
пластиковая труба
|
 |
Перед установкой пружины, обязательно нужно
закрутить 6-ти гранный болт снизу стакана, тем самым вы
зафиксируете перо-к-стакану.
После установки пружины, заливаем вилочное масло.
Количество масла может быть разным в левом и правом пере.
Количество нужно смотреть по сервис книге к мотоциклу или спросить
на нашем
мото форуме. После того, как масло залито и все детали
установлены, завинчиваем пробку и немного смачиваем пыльник в
масле внутри и снаружи, аккуратно но сильно руками усаживаем его в
стакан. Устанавливаем перья в траверсу, фиксирует болты, обожмем
когда мотоцикл будет опущен, пока фиксирует, не забываем
установить в риску маленькое но очень важное стопорное кольцо.
Тормозные машинки устанавливаем в последнюю очередь, чтобы разжать
колодки достаточно обмотав отвертку тряпкой, засунуть ее между
колодками и как бы на излом разжать колодки относительно друг
друга. Иногда на более старых вилках есть нипеля, вилку нужно так
же подкачать, давление так же можно посмотреть по сервис книге.
Источник:
http://pride-u-bike.com/2007/09/01/fork-repair/
Сервис воздушного фильтра K&N
Периодически воздушный фильтр K&N нужно
мыть и заново пропитывать специальным маслом, задача которого
состоит в том, чтобы задерживать пыль, которая находится в
фильтруемом воздушном потоке. Для мойки подойдет любое чистящее
средство для посуды с эффектом обезжиривания, типа известного Фэйри.
Однако, так как у меня в гараже такого чуда не водится, то прийдется
воспользоваться специальным набором от K&N.

Сначала обрызгиваем фильтр
средством для очистки, затем промываем его под струей теплой воды.
Лучше всего, чтобы вода под напором лилась сверху. Это поможет
вымыть всяких мух и прочий крупный мусор с внешней стороны фильтра.
При необходимости применяем средство для очистки еще раз и снова
промываем. Помытый фильтр теряет красный цвет и выглядит блекло,
приблизительно вот так.

Затем следует дать фильтру
высохнуть. После чего можно начинать пропитывать его маслом. Вся
поверхность фильтра должна принять характерную красную
окраску, однако избыток масла тоже не нужен. Если с маслом случился
перебор и оно стекает, если поставить фильр вертикально, то лучше
удалить его, сильно размахивая фильтром из стороны в сторону. Иначе
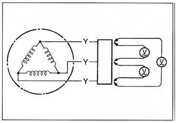
оно все равно улетит, но в мотор.
Процедура проверки исправности
генератора на вашем мотоцикле
Вся информация взята с сервисной книги
помотоциклу, абсолютно не выдумана. Для проверки
исправности генератора на мотоцикле, вам будет необходим
мульти-метр (тестер), приобрести его можно в любом ради-техническом
магазине или в магазине электроники.
Вообще все работы по электронике и электрики (например
проверить исправность того же реле регулятора на мотоцикле
можно только с использованием мульти-метра) требуют
наличие мультиметра.
Этот тест не требует деинсталляции генератора
с мотоцикла. На НЕ запущенном двигателе (еще раз - НЕ
заводите мотоцикл приэтом тесте!).
Разъедините клемму идущую к генератору,
проще всего найти эту клемму, проследив за проводом идущим из
генератора, первую клемму и разъедините (3 толстых желтых провода в
изоляции обычно отходят от генератора и идут через всю электросеть
мотоцикла).

Установите на тестере режим измерения сопротивления -
.
Теперь по ниже приведенной схеме, измеряйте
сопротивление между каждой обмоткой, а затем между обмоткой и землей
(черный провод на раму, красным меряем в клемме сопротивление).

На каждом мотоцикле генератор
имеет между обмотками одинаковую величину, но эти величины от модели
одного мотоцикла к модели другого могут отличаться, для того, чтобы
узнакть какая величина сопротивления на вашей модели мотоцикла
загляните в сервисную книгу вашего мотоцикла.
На нашем примере (Suzuki Hayabusa GSXR 1300)
сопротивление должно быть – 0.2-0.2
(Ома).
С другой стороны, если у вас нет сервисной книги по
вашей модели мотоцикла и величину сопротивления невозможно уточнить,
то помните следующее:
- если величина на одной обмотке различается от двух
других – его необходимо заменить.
- если на всех обмотках величина сопротивления разная
- генератор на мотоцикле явно не исправен
- так же обязательно визуально оцените состояние
каждой обмотки генератора (необходимо будет снимать крышку генератора,
а затем и менять прокладку под крышкой генератора, поэтому если с
сопротивлением, все в порядке – крышку не снимайте!).
Проверка мощности генератора на мотоцикле, без
нагрузки.
Этот тест не требует деинсталляции генератора. На НЕ
запущенном двигателе мотоцикла - разъедините клемму
идущую к генератору, проще всего найти эту клемму, проследив за
проводом идущим из генератора, первую клемму и разъедините (3 толстых
желтых провода в изоляции обычно отходят от генератора и идут через
всю электросеть мотоцикла).
Установите на тестере режим измерения Вольт - V.
Запустите двигатель, без подсоса, но двигатель должен
быть прогрет только немного, для безопасного запуска (в сервисной
книге это ярко обозначено!).
Теперь, держите 5000 оборотов\мин по тахометру (на
каждом мотоцикле свое значение, но принцип один), теперь между
клеммами генератора измерьте вольтаж.
Для наглядности смотрите схему:
На нашем примере (мотоцикл Suzuki Hayabusa
GSXR 1300) – напряжение при 5000 об\мин должно быть 65 Вольт.

Источник:
http://pride-u-bike.com/2009/11/08/motogenerator/
Процесс замены тормозных колодок на
мотоцикле
Тормозные колодки на мотоцикле в среднем
приходится менять не чаще чем 5000-8000 тыс. км. Замечу, что чем
качественнее тормозные колодки вы установите, тем дольше они
прослужат и конечно эффект торможения мотоцикла значительно
лучше если установлены именно качественные тормозные колодки.
Опасайтесь поддельных тормозных колодок произведенных подпольно в
Китае.
Обычно смены требуют колодки с остаточным «полезным»
остатком 1-2-3 мм, разумеется можно заменить и раньше.
Если возник вопрос по замене тормозных колодок на
вашем мотоцикле, всегда приобретайте новые тормозные колодки
для вашего мотоцикла.
Не стоит «наклеивать» и «наплавлять» тормозные колодки на основание
старых, приобретайте только новые колодки для вашего
мотоцикла, пусть новые тормозные колодки будут стандартными
(оригинальными) и не будут иметь металлической крошки и
керамики в своем составе, такие тормозные колодки все равно, намного
качественнее и надежнее, чем «модифицированные» самостоятельно.
«Изготовленные самостоятельно» - наклеенные и
наплавленные тормозные накладки при низких скоростях могут
показаться «стабильными» и «надежными», однако на повышенных скоростях
бывали случаи «отрыва» наклеенного слоя, чем может грозить такой
«отрыв» для мотоциклиста, наверное не стоит даже представлять ’
размышлять.
Просто представьте вы разгоняете мотоцикл,
скорости 120-160 км’ч и вдруг возникает необходимость резкого
торможения, а тормозов просто нет или вообще «наклеяные колодки»
пролетают мимо угла вашего зрения и вы видите этот «полет».
Рекомендации к покупке тормозных колодок.
Для замены тормозных колодок на мотоцикле вам,
понадобится два комплекта колодок на передний контур тормозов и один
комплект для смены на заднем контуре.
1 комплект = 2 колодки.
Подробнее: вам необходимо приобрести два набора (две
упаковки) по две колодки - всего четыре на передний контур тормозов и
всего один комплект, две колодки, на задний контур тормозов.
Рекомендуемые производители тормозных колодок для
мотоцикла: EBC, SBS, DP,
Ferodo, Versah … либо оригинальные,
т.е. от производителей Honda, Suzuki,
Yamaha, Kawasaki.
Выбирая тормозные колодки для вашего
мотоцикла, возьмите в расчет тип вашего мотоцикла.
Для «дорожника» вполне подойдут «оригинальные» колодки от
производителя мотоцикла или конечно же аналоги от фирм
Versah, EBC, Ferrodo и т.д.
Для спортивного мотоцикла, будут более уместны
тормозные колодки с металлической крошкой и керамикой в своем
составе, однако конечно можно установить и оригинальные тормозные
колодки.
Замена тормозных колодок.
При проведении замены, старайтесь не вдыхать пыль от
тормозных колодок.
Дождитесь полного остывания тормозных дисков, иногда
диски после поездки в «рваном» режиме «разгон-торможение» могут
разогреваться достаточно сильно.
Устройство тормозных машинок, примерно на всех
мотоциклах одинаково, устройство задней тормозной машинки обычно
идентично переднему но с некоторыми отличиями, например по кол-ву
тормозных поршней.

Передний контур тормозов
Если на тормозной машинке есть винты-пыльники
(под минусовую отвертку), вывинчиваем пыльники. Далее необходимо
удалить длинный винт закрепляющий тормозные колодки. Обычно для
вывинчивания крепежного болта требуется HEX ключи (шестигранники).
Если в устройстве ваших тормозных машинок есть
прижимная скоба, снимаем скобу, предварительно запомнив положение, для
дальнейшей сборки.
Далее необходимо подцепив старую тормозную колодку
«за ухо» отверткой вынуть ее, так же вытащить вторую колодку. Далее
минусовой отверткой с крепким жалом аккуратно отжимаем тормозные
поршни, задвинуть поршни нужно чуть более, чем на половину,
ориентируйтесь по высоте новых тормозных колодок + толщина тормозного
диска.
В процессе разбора тормозных машинок и смены
тормозных накладок на мотоцикле, не стоит выжимать рычаги и педали
тормозных контуров, иначе же тормозные цилиндрики могут выйти из пазов
и в систему попадет воздух, который выгнать можно будет только
полностью «прокачав» контуры тормозов.
Далее необходимо установить новые тормозные колодки.
Процесс аналогичен процессу разбора. Колодки устанавливаются за
тормозной диск и поверх, устанавливается прижимная скоба (если есть),
вкручивается крепежный винт, поверх винта обязательно вкручивается
винт-пыльник.
Задний контур тормозов мотоцикла.
Процесс схож с заменой тормозных колодок в
переднем контуре тормозов, отличие лишь в том, что иногда из-за
заднего колеса, подобраться к тормозной машинке немного
сложнее, чем на переднем контуре. Обычно снятие заднего колеса
мотоцикла не требуется, вывинчивается крепежный болт и тормозная
машинка «смещается». Далее процесс разбора и замены, тормозных колодок
заднего контура тормозов мотоцикла, схож с процессом по замене
тормозных накладок в переднем контуре тормозов.
Чтобы привести тормоза в рабочее состояние, после
установки нового комплекта, необходимо несколько раз выжать рычаг или
педаль, повторить до ощущения упругости.
Первое время пока тормозные колодки не
«притрутся» к тормозным дискам вашего мотоцикла,
возможны шумы и шелест на низкокачественных тормозных колодках слышен
свист. Так же первое время новые тормозные колодки не так «хватки»,
поэтому первые 100-500 метров не стоит ездить набольших скоростях.
Вообще к новым колодкам нужно будет пере-привыкать, для примера:
тормозные колодки от EBC с металлической крошкой и керамикой
«хваткие», стандартные «оригинальные» колодки более «мягкие» при
торможении, поэтому при переходе от "мягких" к "хватким" нужно будет
привыкать.
Если у вас остались вопросы по замене и выбору
тормозных колодок (накладок) для вашего мотоцикла, вы
всегда можете задать свои вопросы на нашем мотофоруме.
Приобрести новые оригинальные и не оригинальные
тормозные колодки для мотоцикла, вы можете в нашем онлайн
мотомагазине.
Источник:
http://pride-u-bike.com/2008/12/06/zamenatkolodok/
Проверка исправности термостата на
мотоцикле
Сегодняшняя статья посвящена проверке
исправности работы термостата на мотоцикле.
Если однажды вы обнаружили, что ваш мотоцикл
слишком долго греется или двигатель мотоцикла
сильно быстро охлаждается при движении возможно необходимо
произвести проверку исправности термостата.
Если описанные выше проблемы наблюдаются в работе вашего
мотоцикле, возможно, есть необходимости
проверить исправность охлаждающей системы
вашего мотоцикла - термостата.
Принцип работы термостата в охлаждающей
системе мотоцикла.
Кратко разберем принцип работы термостата. При
работе двигателя мотоцикла возникает нагрев охлаждающей
жидкости, термостат выполняет роль «пробки»,
как только температура охлаждающей жидкости достигает 80-85
градусов, термостат начинает открываться,
позволяя охлаждающей жидкости циркулировать по всей
охлаждающей системе мотоцикла. Проходя через
радиатор охлаждающая жидкость «отдает тепло» и уходит
на второй круг. Если температура жидкости в
охлаждающей системе мотоцикла снижается, термостат
закрывается, препятствуя тем самым циркулированию жидкости в
охлаждающей системе мотоцикла.
Однако сразу хочется оговориться, не стоит
впадать в панику, если ваш мотоцикл греется, скажем, больше 5
минут. V-образные двигатели греются немного дольше, чем скажем
рядные, поэтому стоит делать скидку на тип двигателя и
характеристики вашего мотоцикла, а так же разумеется на
температуру окружающей среды.
Извлечение термостата из охлаждающей системы
мотоцикла
Слейте охлаждающую жидкость в чистую тару (от
2 до 4х литров в зависимости от типа и модели мотоцикла).
Расположение термостата на каждой модели мотоцикла
разное, но обычно термостат расположен близко
к двигателю, водяной помпе или верхнему
патрубку радиатора. Обычно термостат находится под
крышкой-кожухом, от нее отходят два шланга большого сечения.
Снимите верхнюю крышку кожуха термостата и извлеките
термостат.
Проверка исправности работы термостата.
Будут необходимы: тара металлическая,
градусник технический, вода и сам термостат.
Тщательно промойте термостат в проточной воде, использовать
пищевую посуду для тестирования не следует, антифризы ядовиты!
Внимательно осмотрите термостат на наличие повреждений, основа
датчика-термостата должна быть гладкой. Возьмем неглубокую
железную кастрюлю, миску и т.д. расположим ее, на бытовой
плите, зальем горячей водой (50-60 градусов), на края миски
лучше положить деревянную рейку, металлическую спицу и т.д. К
этой «распорке» следует привязать термостат так, чтобы
термостат не касался дна, иначе показатели будут не точны!


Термостат большинства мотоциклов должен
начать открываться при 80-84 градусах, до момента закипания
воды термостат должен быть полностью открыт! Если технического
градусника нет, подогрейте чайником воду, но не до вскипания,
далее на бытовой плите подогревайте воду, как написано было
выше, до закипания воды термостат должен открыться полностью!
Источник:
http://pride-u-bike.com/2008/10/01/termostat/
|